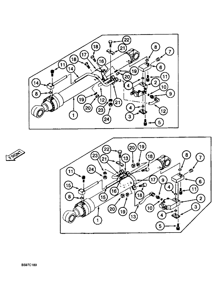
Запчасти Case 9030B (8-170) - LOAD HOLDING OPTION, HOLDING VALVES AND TUBES AT BOOM CYLINDERS (08) - HYDRAULICS

Схема запчастей Case 9030B - (8-170) - LOAD HOLDING OPTION, HOLDING VALVES AND TUBES AT BOOM CYLINDERS (08) - HYDRAULICS
4
1
20
8
11
2
12
6
2
6
14
20
8
17
7
3
11
20
9
7
3
11
24
16
5
4
4
15
18
19
16
18
5
11
12
17
8
19
18
9
1
24
23
13
10
14
15
19
4
13
10
19
21
8
20
23
21
18
22
21
22
FIT
1:1
100%

Артикул

Название

Примечание

Количество

1

162803A1

CYLINDER ASSY.

CYLINDER ASSEMBLY - 125 (4-15/16) ID x 1259 mm (49-9/16 inch) stroke, boom, see Figure 8-168

2шт.

2

162790A1

SAFETY VALVE

VALVE ASSEMBLY - load holding, boom cylinder, standard models without long reach

2шт.

2

164389A1

VALVE

ASSEMBLY - load holding, boom cylinder, models with long reach option

2шт.

3

161955A1

FLANGE

COVER - flat, flange port

2шт.

4

154549A1

O-RING

- cover

4шт.

5

862-12100

HEX SOC SCREW,M12 x 100mm, Cl 12.9

BOLT - hex socket, 12-1.75 x 100 mm, class 12.9

8шт.

6

161978A1

MANIFOLD

- cylinder

2шт.

7

151035A1

PLUG

- pipe

2шт.

8

154529A1

O-RING

- cylinder tube port

4шт.

9

151654A1

HYD CONNECTOR,3/4" NPT O-Ring x 3/4" NPT

ADAPTER - straight, Includes: Ref. 10

2шт.

10

154503A1

O-RING

- adapter

1шт.

11

862-10060

HEX SOC SCREW,M10 x 60mm, Cl 12.9

BOLT - hex socket, 10-1.5 x 60 mm, class 12.9

16шт.

12

162795A1

HYD TUBE

TUBE - hydraulic, right-hand, at load hold valve

1шт.

13

162796A1

HYD TUBE

TUBE - hydraulic, left-hand, at load hold valve

1шт.

14

162793A1

HYD TUBE

TUBE - hydraulic, right-hand, at cylinder tube, rod end

1шт.

15

162794A1

HYD TUBE

TUBE - hydraulic, left-hand, at cylinder tube, rod end

1шт.

16

162845A1

CLAMP

- special, with tube bracket

2шт.

17

162842A1

CLAMP

- plain half

2шт.

18

827-10040

BOLT,Hex, M10 x 1.5 x 40mm, Cl 10.9, Full Thd

- hex, 10 - 1.5 x 40 mm, class 10.9

4шт.

19

892-11010

LOCK WASHER,M10

4шт.

21

161960A1

COLLAR

CLAMP - tube

4шт.

22

827-12070

BOLT,Hex, M12 x 1.75 x 70mm, Cl 10.9

- hex, 12 - 1.75 x 70 mm, class 10.9

2шт.

23

892-11012

LOCK WASHER,M12

WASHER, LOCK, M12

2шт.

24

829-1412

NUT,M12, Cl 10.9

- hex, 12 mm-1.75, class 10

2шт.

20

829-1410

NUT,M10 x 1.5, Cl 10.9

4шт.

Выбрано товаров: 25