Запчасти Case 9030B (8-182) - BUCKET CYLINDER, MODELS WITH LONG REACH (08) - HYDRAULICS

Схема запчастей Case 9030B - (8-182) - BUCKET CYLINDER, MODELS WITH LONG REACH (08) - HYDRAULICS
6
12
31
34
7
3
36
2
26
1
35
13
8
11
33
18
22
25
38
32
29
27
44
28
42
21
4
41
37
30
39
14
40
43
16
23
20
15
5
9
19
17
10
24
31
FIT
1:1
100%

Артикул

Название

Примечание

Количество

160752A1

CYLINDER ASSY.

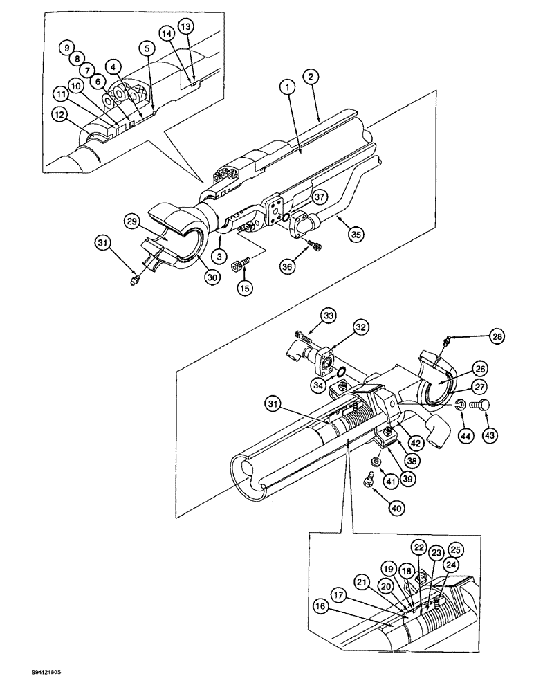
CYLINDER ASSEMBLY - 95 (3-3/4) ID x 924 mm (36-3/8 inch) stroke, bucket, for models with Long Reach, Includes: Ref. 1 - 44

1шт.

161049A1

ROD

KIT - rod, bucket cylinder, Includes: Ref. 1 and 29 below

1шт.

1

NSS

NOT SOLD SEPARAT

ROD - cylinder

1шт.

161048A1

PIPE SET

KIT - tube, bucket cylinder, Includes: Ref. 2 and 26 below

1шт.

2

NSS

NOT SOLD SEPARAT

TUBE - cylinder

1шт.

162977A1

SET OF PARTS

GLAND ASSEMBLY - cylinder, replaces 161054A1, Includes: Ref. 3 - 5

1шт.

3

160899A1

HEAD

GLAND - cylinder

1шт.

4

155433A1

BUSHING

- gland

1шт.

5

155699A1

RING, SNAP

RING - snap

1шт.

6

160788A1

SEALING RING

RING ASSEMBLY - buffer, Includes: Ref. 7 - 9

1шт.

Part of Seal Kit P/N 162976A1

1шт.

7

NSS

NOT SOLD SEPARAT

RING - slide

1шт.

8

NSS

NOT SOLD SEPARAT

RING - backup

1шт.

9

NSS

NOT SOLD SEPARAT

RING - square

1шт.

10

155130A1

RING

SEAL - U-cup

1шт.

Part of Seal Kit P/N 162976A1

1шт.

11

155231A1

BACK-UP RING

RING - backup

1шт.

Part of Seal Kit P/N 162976A1

1шт.

12

160784A1

WIPER SEAL

WIPER - piston rod

1шт.

Part of Seal Kit P/N 162976A1

1шт.

13

154705A1

O-RING

- seal

1шт.

Part of Seal Kit P/N 162976A1

1шт.

14

160810A1

BACK-UP RING

RING - backup

1шт.

Part of Seal Kit P/N 162976A1

1шт.

15

161058A1

BOLT,Hex Skt Hd

BOLT - hex socket, special

12шт.

16

161042A1

RING

- cushion

1шт.

17

160944A1

PISTON

- cylinder

1шт.

18

160825A1

SEALING RING

SEAL - piston

1шт.

Part of Seal Kit P/N 162976A1

1шт.

19

160814A1

BACK-UP RING

RING - backup

2шт.

Part of Seal Kit P/N 162976A1

1шт.

20

160828A1

RING

- wear

2шт.

21

160829A1

RING

- wear

2шт.

22

155720A1

SHIM

WASHER - flat, special

1шт.

Part of Seal Kit P/N 162976A1

1шт.

23

156217A1

NUT

- special

1шт.

24

156222A1

SCREW

- set

1шт.

25

155976A1

BALL

- steel

1шт.

26

155400A1

BUSHING

- mounting pin, closed end

1шт.

27

164445A1

RING

WIPER - mounting pin, closed end, replaces 155113A1 wiper

2шт.

28

153630A1

LUBE NIPPLE

FITTING - grease, straight

2шт.

29

161031A1

BUSHING

- mounting pin, rod end

1шт.

30

164445A1

RING

WIPER - mounting pin, rod end, replaces 155113A1 wiper

2шт.

31

160782A1

SEAL

- cushion

1шт.

Part of Seal Kit P/N 162976A1

1шт.

32

160878A1

ELBOW

TUBE - hydraulic, closed end

1шт.

33

861-10030

HEX SOC SCREW,M10 x 30mm, Cl 12.9

SCREW - hex socket, 10 - 1.5 x 30 mm, class 12.9

4шт.

34

154528A1

O-RING

- tube

1шт.

35

160846A1

TUBE

- hydraulic, rod end

1шт.

36

861-8025

HEX SOC SCREW,M8 x 25mm, Cl 12.9

SCREW - hex socket, 8 - 1.25 x 25 mm, class 12.9

4шт.

37

154499A1

O-RING

- tube

1шт.

38

161000A1

MOUNTING CLIP

CLAMP - band

1шт.

39

161001A1

MOUNTING CLIP

CLAMP - band

1шт.

40

158131A1

BOLT,High Strength, M10 x 1.5 x 35mm, Cl 10.9

BOLT - hex, special

2шт.

41

156227A1

WASHER

- lock, special

2шт.

42

160874A1

CLAMP

- tube, special

1шт.

43

160973A1

BOLT

- hex, special

1шт.

44

112312A1

LOCK WASHER

- lock, 12 mm

1шт.

162976A1

SEAL KIT

KIT - seal, Includes: Ref. 6, 10 - 14, 18, 19, 22 and 31

1шт.

Выбрано товаров: 59