Запчасти Case 9030B (8-188) - SWING REDUCTION GEAR ASSEMBLY (08) - HYDRAULICS

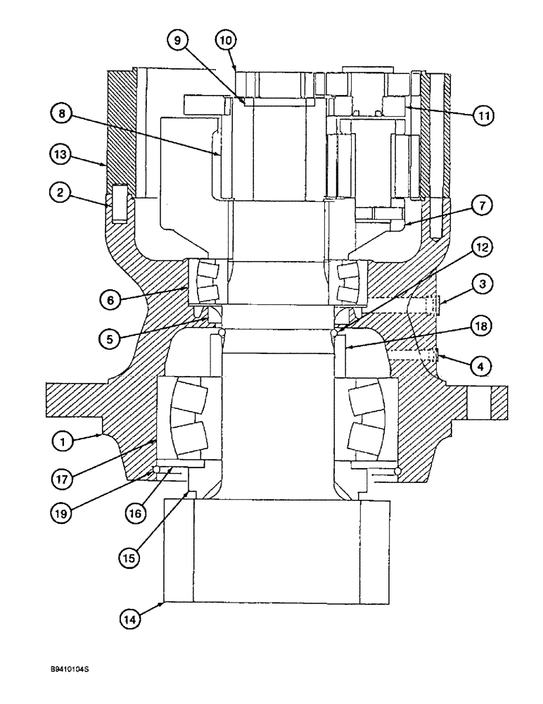
Схема запчастей Case 9030B - (8-188) - SWING REDUCTION GEAR ASSEMBLY (08) - HYDRAULICS
7
9
1
4
12
18
5
2
6
8
15
3
16
17
14
13
19
11
10
FIT
1:1
100%

Артикул

Название

Примечание

Количество

160560A1

MOTO-REDUCTION GEAR

GEAR ASSEMBLY - reduction, Includes: Ref. 1 - 19

1шт.

LN00111R

REMAN-REDUCTION UNIT

9030B (11/94-) Reman for new P/N 160560A1

1шт.

LN00111C

CORE-REDUCTION UNIT

Return Number

1шт.

1

NSS

NOT SOLD SEPARAT

HOUSING - swing gear reduction assembly, Includes: Ref. 2 - 4

1шт.

2

155621A1

COTTER PIN

PIN - dowel

4шт.

3

151030A1

PLUG

- port

1шт.

4

151022A1

PLUG

- hex socket, special

2шт.

5

155107A1

OIL SEAL

- oil

1шт.

6

160611A1

BEARING, ROLLER,90mm ID x 160mm OD x 40mm W

BEARING - roller, thrust

1шт.

7

168437A1

HOLDER

CARRIER - planetary

1шт.

8

160520A1

GEAR

- differential

1шт.

9

160047A1

PLATE, THRUST

RING - thrust

1шт.

10

160519A1

SUN GEAR

GEAR - sun

1шт.

11

168436A1

HOLDER

CARRIER - planetary

1шт.

12

155686A1

RING, SNAP

RING - retaining

1шт.

13

160518A1

PINION

GEAR - ring

1шт.

14

165956A1

GEAR SHAFT

PINION - drive

1шт.

15

160547A1

COLLAR CLAMP

COLLAR - shaft

1шт.

16

156356A1

PLATE

- shaft

1шт.

17

156157A1

BEARING, ROLLER,110mm ID x 215mm OD x 73mm W

BEARING - roller, thrust

1шт.

18

160548A1

COLLAR

- shaft

1шт.

19

155685A1

RING, SNAP

RING - retaining

1шт.

Выбрано товаров: 22