Запчасти Case 9030B (9-124) - H & H BUCKETS, DITCH (09) - CHASSIS

Схема запчастей Case 9030B - (9-124) - H & H BUCKETS, DITCH (09) - CHASSIS
3
2
8
9
11
6
5
1
4
10
13
7
12
FIT
1:1
100%

Артикул

Название

Примечание

Количество

REF

INSTRUCTION

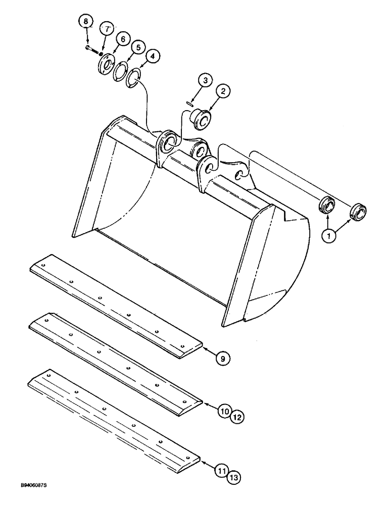
BUCKET ASSEMBLY - 1524 mm (60 inch), 1.03 cu. yd., Includes: Ref. 1 - 9

1шт.

Order bucket assembly from Machinery Price List.

1шт.

REF

INSTRUCTION

BUCKET ASSEMBLY - 1829 mm (72 inch), 1.04 cu. yd., Includes: Ref. 1 - 9

1шт.

Order bucket assembly from Machinery Price List.

1шт.

1

125665A1

LATCH

BUSHING - bucket, with locking collar

2шт.

2

125659A1

BUSHING

- bucket, adjustable, Includes: Ref. 3

1шт.

3

125664A1

DOWEL

PIN - dowel, special

2шт.

4

125660A1

SHIM

- plate mounting, 0.02 inch thick

1шт.

5

125661A1

SHIM

- plate mounting, 0.039 inch thick

1шт.

6

125663A1

RETAINER

PLATE - bushing

1шт.

7

492-11062

BEARING WASHER,5/8"

WASHER, LOCK, 5/8"

3шт.

8

326-1032

BOLT,Hex, 5/8" - 11 x 2", Gr 8

3шт.

9

125741A1

EDGE

- cutting, center, 1524 mm (60 inch) bucket, ditch

1шт.

9

125742A1

EDGE

- cutting, center, 1829 mm (60 inch) bucket, ditch

1шт.

10

113074A1

EDGE, CUTTING

EDGE - cutting, reversible, 1524 mm (60 inch) bucket, optional bolt-on center cutting edges with hardware

1шт.

11

113079A1

EDGE, CUTTING

EDGE - cutting, serrated, 1524 mm (60 inch) bucket, optional bolt-on center cutting edges with hardware

1шт.

12

113075A1

EDGE, CUTTING

EDGE - cutting, reversible, 1829 mm (72 inch) bucket, optional bolt-on center cutting edges with hardware

1шт.

13

113081A1

EDGE, CUTTING

EDGE - cutting, serrated, 1829 mm (72 inch) bucket, optional bolt-on center cutting edges with hardware

1шт.

Выбрано товаров: 18