Запчасти Case 9030B (5-06) - TRACK CHAIN AND SHOES, FOR ALL EXCEPT TIMBER KING OR NARROW TRACK MODELS (11) - TRACKS/STEERING

Схема запчастей Case 9030B - (5-06) - TRACK CHAIN AND SHOES, FOR ALL EXCEPT TIMBER KING OR NARROW TRACK MODELS (11) - TRACKS/STEERING
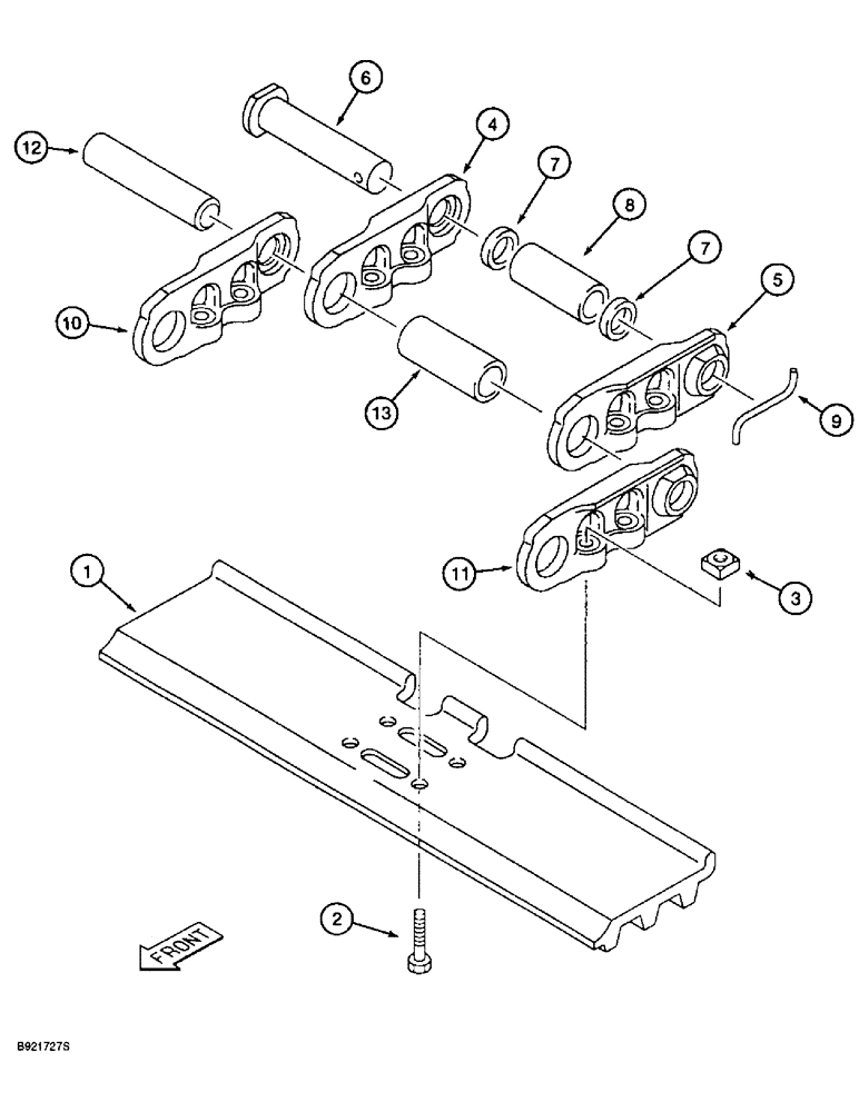
7
12
8
6
9
2
4
5
1
11
3
7
13
10
FIT
1:1
100%

Артикул

Название

Примечание

Количество

1

159397A1

TRACK SHOE

SHOE - track, three bar grouser, 800 mm (31-1/2 inch) wide, if used

98шт.

For info. on new sealed and greased track chain parts for 800 mm shoe applications see installation diagram 364063A1.

1шт.

1

161298A1

TRACK SHOE

SHOE - track, three bar grouser, 600 mm (23-5/8 inch), wide, if used

98шт.

For info. on new sealed and greased track chain parts for 600 mm shoe applications for 9030B std units see installation diagram 364062A1. For 9030B Narrow units see installation diagram 364065A1 for 600 mm shoe application info.

1шт.

2

159668A1

BOLT,Hex, M20 x 1.5 x 53mm

BOLT - special, shoe mounting

392шт.

3

151767A1

NUT

- special, shoe retaining

392шт.

160430A1

CHAIN (CE)

CHAIN ASSEMBLY - track, Includes: Ref. 4 - 13

2шт.

4

159674A1

LINK

- master, chain, right-hand

1шт.

5

159675A1

LINK

- master, chain, left-hand

1шт.

6

159676A1

HEADED PIN,36.3mm OD x 208mm L

PIN - master link, with head and pin hole

1шт.

7

159673A1

SPACER, RING

SPACER - bushing

2шт.

8

159694A1

BUSHING

- master link pin

1шт.

9

159677A1

COTTER PIN,8mm OD

PIN - lock, master link pin

1шт.

10

159670A1

LINK

- track chain, standard, right-hand

48шт.

11

159671A1

LINK

- track chain, standard, left-hand

48шт.

12

159672A1

PIN

- link

48шт.

13

159693A1

SPACER

BUSHING - link pin

48шт.

1

161298A1

TRACK SHOE

SHOE - track, three bar grouser, 600 mm (23-5/8 inch), narrow track models

92шт.

For info. on new sealed and greased track chain parts for 600 mm shoe applications for 9030B std units see installation diagram 364062A1. For 9030B Narrow units see installation diagram 364065A1 for 600 mm shoe application info.

1шт.

2

159668A1

BOLT,Hex, M20 x 1.5 x 53mm

BOLT - special, shoe mounting, narrow track models

368шт.

3

151767A1

NUT

- special, shoe retaining, narrow track models

368шт.

163153A1

TRACK CHAIN

CHAIN ASSEMBLY - track, narrow track models, Includes: Ref. 4 - 13

2шт.

4

159674A1

LINK

- master, chain, right-hand, narrow track models

1шт.

5

159675A1

LINK

- master, chain, left-hand, narrow track models

1шт.

6

159676A1

HEADED PIN,36.3mm OD x 208mm L

PIN - master link, with head and pin hole, narrow track models

1шт.

7

159673A1

SPACER, RING

SPACER - bushing, narrow track models

2шт.

8

159694A1

BUSHING

- master link pin, narrow track models

1шт.

9

159677A1

COTTER PIN,8mm OD

PIN - lock, master link pin, narrow track models

1шт.

10

159670A1

LINK

- track chain, standard, right-hand, narrow track models

45шт.

11

159671A1

LINK

- track chain, standard, left-hand, narrow track models

45шт.

12

159672A1

PIN

- link, narrow track models

45шт.

13

159693A1

SPACER

BUSHING - link pin, narrow track models

45шт.

1

164201A1

TRACK SHOE

SHOE - track, two bar grouser, 700 mm (27-1/2 inch) wide, standard, timber king models

102шт.

PER R. ERICKSON/ENGINEERING - 164201A1 IS A 2 BAR GROUSER.

1шт.

1

159416A1

TRACK SHOE

SHOE - track, three bar grouser, 700 mm (27-1/2 inch) wide, optional, timber king models

102шт.

2

164202A1

BOLT

BOLT - special, shoe mounting, timber king models

408шт.

3

151767A1

NUT

- special, shoe retaining, timber king models

408шт.

159419A1

CHAIN (CE)

CHAIN ASSEMBLY - track, timber king models, Includes: Ref. 4 - 13

2шт.

4

159674A1

LINK

- master, chain, right-hand, timber king models

1шт.

5

159675A1

LINK

- master, chain, left-hand, timber king models

1шт.

6

159676A1

HEADED PIN,36.3mm OD x 208mm L

PIN - master link, with head and pin hole, timber king models

1шт.

7

159673A1

SPACER, RING

SPACER - bushing, timber king models

2шт.

8

159694A1

BUSHING

- master link pin, timber king models

1шт.

9

159677A1

COTTER PIN,8mm OD

PIN - lock, master link pin, timber king models

1шт.

10

159670A1

LINK

- track chain, standard, right-hand, timber king models

50шт.

11

159671A1

LINK

- track chain, standard, left-hand, timber king models

50шт.

12

159672A1

PIN

- link, timber king models

50шт.

13

159693A1

SPACER

BUSHING - link pin, timber king models

50шт.

Выбрано товаров: 48