Запчасти Case 9030B (3-04) - FUEL LINES, PRIOR TO P.I.N. DAC03#2001 (03) - FUEL SYSTEM

Схема запчастей Case 9030B - (3-04) - FUEL LINES, PRIOR TO P.I.N. DAC03#2001 (03) - FUEL SYSTEM
2
9
16
2
5
31
12
5
1
27
4
28
17
23
5
32
6
4
27
28
27
33
3
31
5
15
29
11
26
4
21
10
22
4
4
26
13
5
4
25
14
5
7
4
4
24
27
30
8
20
FIT
1:1
100%

Артикул

Название

Примечание

Количество

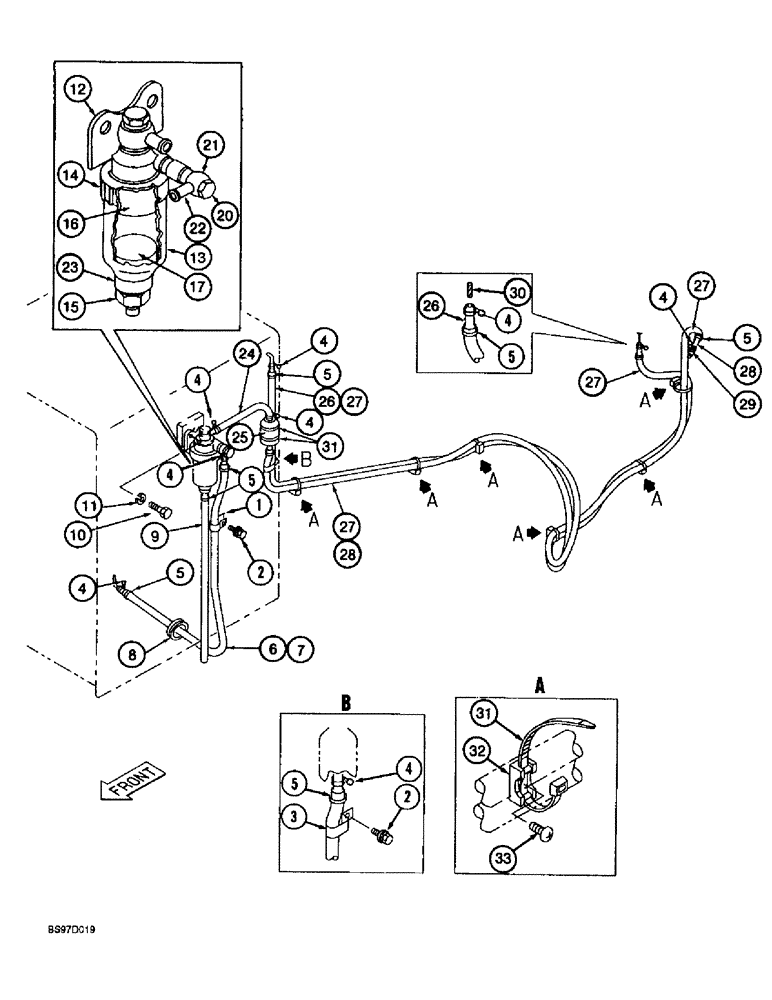
1

157807A1

COLLAR

CLAMP - P-type, 20 mm ID

1шт.

2

156559A1

BOLT,High Strength, Hex, M6 x 12mm, W/ LW

BOLT - hex, special

2шт.

3

150585A1

CLAMP

- P-type, tube

1шт.

4

153043A1

COLLAR

CLAMP - wire-type

8шт.

5

150067A1

MOUNTING CLIP

STRAP - tie, 150 mm long

7шт.

6

150239A1

PLASTIC-RUBBER TUBE,9.50mm ID, 14.70mm OD

TUBE - fuel tank to separator

1шт.

7

150774A1

PLASTIC-RUBBER TUBE

SLEEVE - corrugated, 1000 mm (39-3/8 inch) long

1шт.

8

150520A1

GROMMET

- rubber

1шт.

9

157629A1

LARGE HOSE,9.5 mm ID, 14.5 mm OD

TUBE - drain, at water separator

1шт.

10

627-8020

BOLT,Hex, M8 x 1.25 x 20mm, Cl 10.9, Full Thd

- hex, full threads, 8-1.25 x 20 mm, class 10.9

2шт.

11

892-11008

LOCK WASHER,8mm ID

WASHER, LOCK, M8

2шт.

151071A1

WATER TRAP

SEPARATOR ASSEMBLY - water, Includes: Ref. 12 - 23

1шт.

12

156289A1

FILTER HEAD

COVER - water separator

1шт.

13

156240A1

FILTER BOWL

HOUSING - water separator

1шт.

14

156184A1

RING NUT

NUT - ring-type

1шт.

15

155467A1

PLUG, DRAIN

PLUG - drain

1шт.

16

156291A1

PLATE

- baffle

1шт.

17

156290A1

FLOAT

INDICATOR - floating

1шт.

18

155175A1

O-RING

- separator, middle section of separator, not shown

1шт.

19

155174A1

O-RING

- separator, lower section of separator, not shown

1шт.

20

156185A1

BANJO BOLT

BOLT - special

2шт.

21

155297A1

GASKET

GASKET - banjo fitting

4шт.

22

156292A1

FITTING

- banjo-type

2шт.

23

155353A1

PLUG

CAP - drain

1шт.

24

157590A1

TUBE,9.5 mm ID, 14 mm OD, 300 mm Length

- vinyl, water separator to fuel filter

1шт.

25

D139225

FILTER, FUEL

FILTER - fuel, in-line, replaces D145357 fuel filter

1шт.

26

157652A1

LARGE HOSE,9.5 mm ID, 14.5 mm OD

TUBE - vinyl, fuel return, 3200 mm (126 inch) long

1шт.

27

151175A1

PLASTIC-RUBBER TUBE

SLEEVE - corrugated, 3000 mm (118-1/8 inch) long

2шт.

28

157620A1

LARGE HOSE,9.5 mm ID, 14.5 mm OD

TUBE - vinyl, 3200 mm (126 inch) long, fuel filter to fuel pump

1шт.

29

151659A1

NIPPLE, LUBE

ADAPTER - straight, special

1шт.

30

152374A1

SPACER

SLEEVE - rubber

1шт.

31

150071A1

MOUNTING CLIP

STRAP - tie, 365 mm long

6шт.

32

150860A1

COLLAR

BRACKET - support

6шт.

33

840-168

SCREW,Pan, M6 x 1 x 8mm, Cl 4.8

- machine, pan Phillips, 6 - 1.0 x 8 mm

6шт.

Выбрано товаров: 34