Запчасти Case 9030B (8-002) - HYDRAULIC RESERVOIR (08) - HYDRAULICS

Схема запчастей Case 9030B - (8-002) - HYDRAULIC RESERVOIR (08) - HYDRAULICS
12
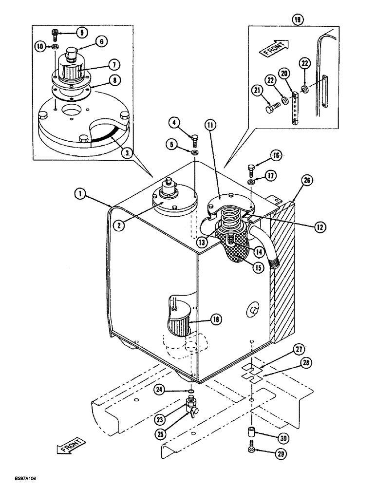
11
21
14
18
22
18
10
15
8
29
20
25
17
4
23
30
24
22
13
1
3
7
28
5
6
26
16
9
27
2
FIT
1:1
100%

Артикул

Название

Примечание

Количество

1

161715A1

TANK, HYDRAULIC OIL

RESERVOIR - hydraulic oil, Serial Range: -DAC03#2001

1шт.

See Figure 1-2 for explanation of P.I.N. and model variations.

1шт.

1

165467A1

TANK, HYDRAULIC OIL

RESERVOIR - hydraulic oil, Start Serial: DAC03#2001

1шт.

See Figure 1-2 for explanation of P.I.N. and model variations.

1шт.

2

159277A1

COVER

- air breather

1шт.

3

154837A1

O-RING

- hydraulic reservoir cover

1шт.

5

150409A1

WASHER

- flat, special, 10.5 x 21 x 3.2 mm

4шт.

159276A1

BREATHER

ASSEMBLY - hydraulic reservoir, Includes: Ref. 6 - 8

1шт.

6

163559A1

CAP

- nut

1шт.

The metal/rubber seal that goes under Ref. 6 cap nut is LA00828 Case P/N 159276A1.

1шт.

7

159702A1

HYDRAULIC OIL FILTER

ELEMENT - breather

1шт.

8

159703A1

GASKET

- flat, breather

1шт.

9

862-6016

HEX SOC SCREW,M6 x 16mm, Cl 12.9

BOLT - hex socket, 6-1.0 x 16 mm, class 12.9

4шт.

10

892-11006

LOCK WASHER,M6

WASHER, LOCK, M6

4шт.

11

159275A1

COVER

- filter

1шт.

12

154837A1

O-RING

- hydraulic reservoir cover

1шт.

13

159701A1

SPRING

- compression

1шт.

14

159273A1

VALVE

- relief

1шт.

15

159274A1

HYDRAULIC OIL FILTER

FILTER - return

1шт.

16

627-10020

BOLT,Hex, M10 x 1.5 x 20mm, Cl 10.9, Full Thd

- hex, full threads, 10 - 1.5 x 20 mm, class 10.9

4шт.

17

150409A1

WASHER

- flat, special, 10.5 x 21 x 3.2 mm

4шт.

18

159278A1

HYDRAULIC OIL FILTER

STRAINER - hydraulic oil

1шт.

The O-ring that goes inside of this strainer is P/N 238-5341.

1шт.

19

163560A1

SIGHTGLASS

GAUGE ASSEMBLY - sight, Includes: Ref. 20 - 22

1шт.

20

NSS

NOT SOLD SEPARAT

BODY - gauge

1шт.

21

159492A1

BOLT

BOLT - special

2шт.

22

159493A1

SEALING WASHER

SEAL - washer

4шт.

23

159279A1

SOCKET

REDUCER - drain valve, Includes: Ref. 24

1шт.

24

154503A1

O-RING

- reservoir drain valve

1шт.

25

150962A1

COCK, DRAIN

VALVE - drain

1шт.

26

159280A1

SEAL

- cushion, Serial Range: -DAC03#2001

1шт.

See Figure 1-2 for explanation of P.I.N. and model variations.

1шт.

26

165458A1

SEAL

- cushion, Start Serial: DAC03#2001

1шт.

See Figure 1-2 for explanation of P.I.N. and model variations.

1шт.

27

150166A1

SHIM

- 0.8 mm (1/32 inch) thick, between fuel tank and frame

4шт.

28

150479A1

SHIM

- 2.0 mm (5/64 inch) thick, between fuel tank and frame

4шт.

29

828-16070

BOLT,Hex, M16 x 2 x 70mm, Cl 10.9

4шт.

30

153357A1

SPACER

- bolt

4шт.

4

627-10030

BOLT,Hex, M10 x 1.5 x 30mm, Cl 10.9, Full Thd

4шт.

Выбрано товаров: 39