Запчасти Case 9040 (5-04) - TRACK CHAIN AND SHOES (11) - TRACKS/STEERING

Схема запчастей Case 9040 - (5-04) - TRACK CHAIN AND SHOES (11) - TRACKS/STEERING
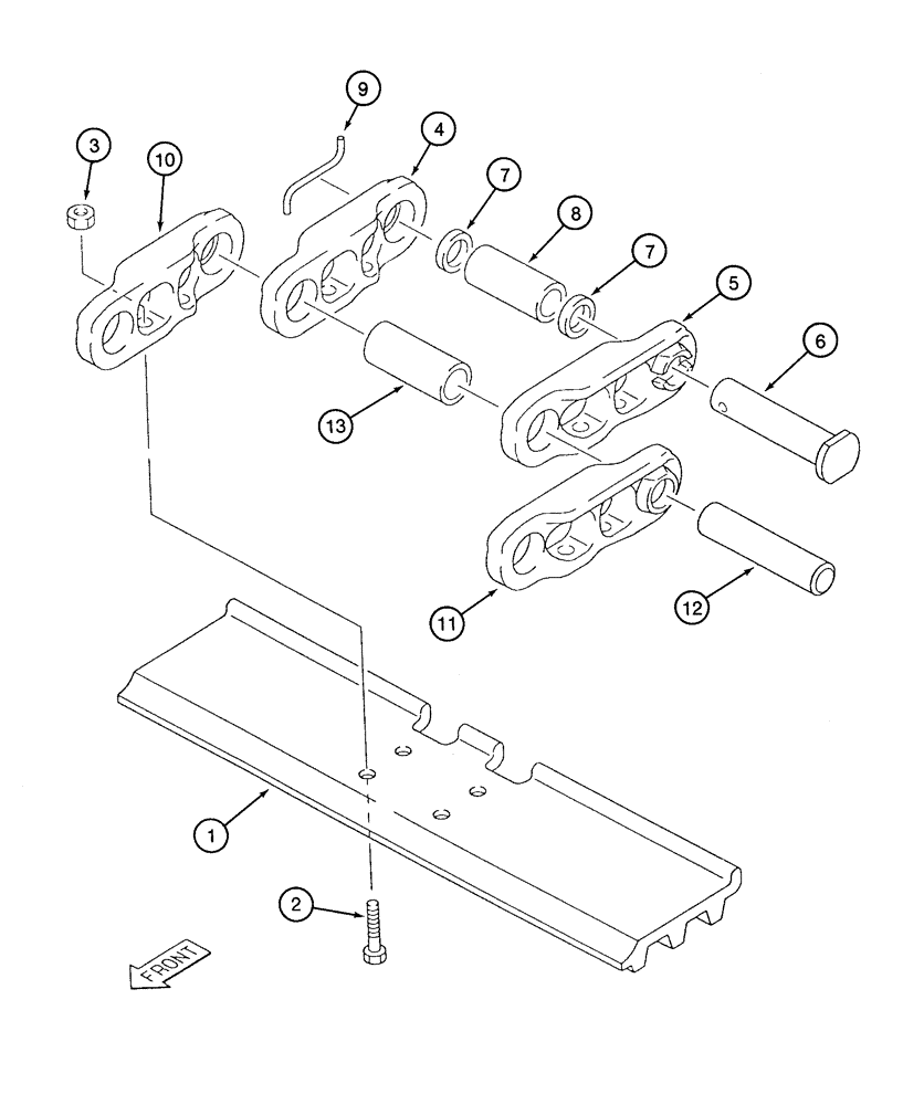
6
7
9
12
7
13
2
10
3
5
4
1
11
8
FIT
1:1
100%

Артикул

Название

Примечание

Количество

158020A1

CHAIN (CE)

CHAIN ASSEMBLY - track, includes 23-5/8 inch (600 mm) track shoes, Includes: Ref. 1 - 13

2шт.

158594A1

CHAIN (CE)

CHAIN ASSEMBLY - track, includes 27-1/2 inch (700 mm) track shoes, Includes: Ref. 1 - 13

2шт.

151532A1

CHAIN (CE)

CHAIN ASSEMBLY - track, includes 31-1/2 inch (800 mm) track shoes, Includes: Ref. 1 - 13

2шт.

1

158021A1

TRACK SHOE

SHOE - track, three bar grouser, 23-5/8 inch (600 mm) wide, component of 158020A1 chain assembly

52шт.

1

158595A1

TRACK SHOE

SHOE - track, three bar grouser, 27-1/2 inch (700 mm) wide, component of 158594A1 chain assembly

52шт.

1

152412A1

SHOE

- track, three bar grouser, 31-1/2 inch (800 mm) wide, component of 151532A1 chain assembly

52шт.

2

150978A1

BOLT

BOLT - special, track shoe mounting

208шт.

3

150493A1

NUT

- square, shoe retaining

208шт.

151529A1

CHAIN (CE)

CHAIN ASSEMBLY - track, without track shoes, Includes: Ref. 4 - 13

1шт.

4

152241A1

LINK ASSY.

LINK - master, track, right-hand

1шт.

5

152245A1

LINK ASSY.

LINK - master, track, left-hand

1шт.

6

150272A1

PIN

- master link, with head and pin hole

1шт.

7

150278A1

COLLAR

SPACER - bushing, master pin

2шт.

8

150261A1

BUSHING

- master pin

1шт.

9

150339A1

COTTER PIN

PIN - lock, master track pin

1шт.

10

152233A1

LINK

- track, standard, right-hand

51шт.

11

152238A1

LINK ASSY.

LINK - track, standard, left-hand

51шт.

12

150510A1

PIN

- track, standard

51шт.

13

150253A1

BUSHING

- track, standard

51шт.

Выбрано товаров: 19