Запчасти Case 9040 (2-34) - CYLINDER BLOCK, 6T-830 ENGINE (02) - ENGINE

Схема запчастей Case 9040 - (2-34) - CYLINDER BLOCK, 6T-830 ENGINE (02) - ENGINE
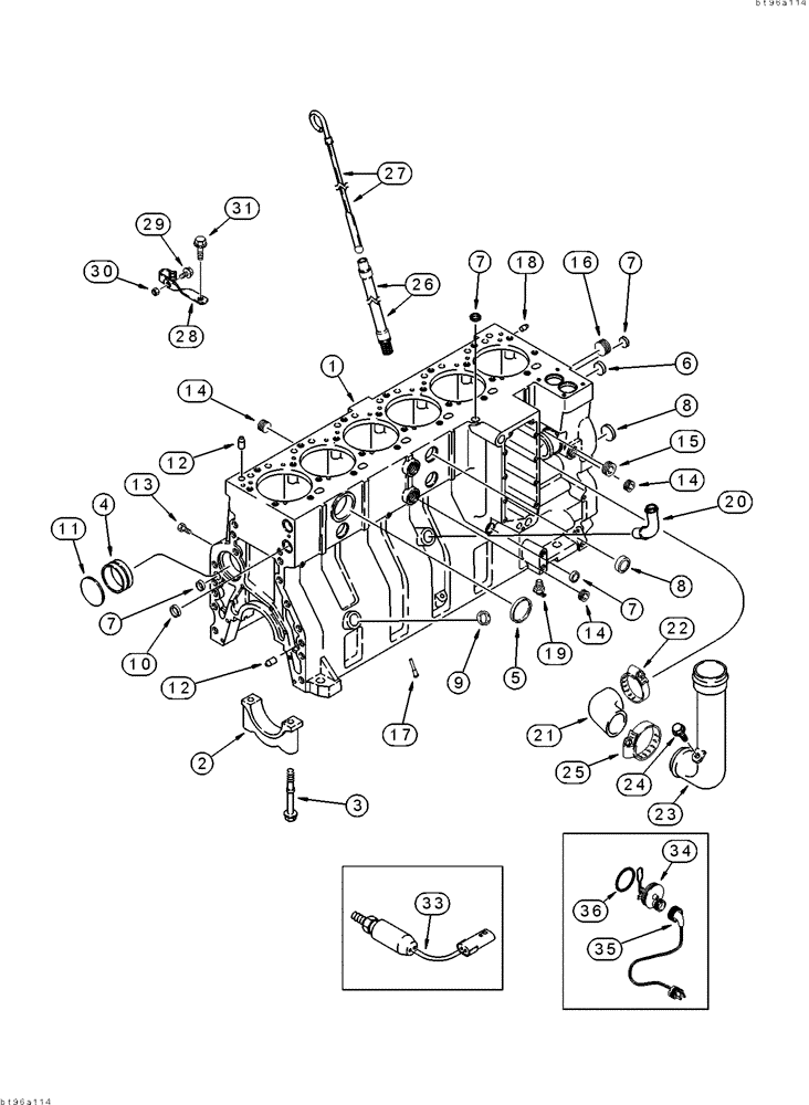
12
2
10
18
27
29
11
14
23
14
20
30
6
7
12
17
9
24
35
7
13
31
3
19
4
1
21
7
5
36
8
8
33
26
14
15
28
34
22
16
7
25
FIT
1:1
100%

Артикул

Название

Примечание

Количество

1989159C1

ENGINE ASSEMBLY

ENGINE ASSY ENGINE ASSEMBLY - complete, 6T-830, includes all parts except fan, air cleaner, muffler and exhaust pipe, for service order basic engine below

1шт.

1989190C1R

REMAN-REPLACEMENT EN

Remanufactured

1шт.

6T-830C

CORE-REPLACEMENT ENG

Return Part Number, Complete

1шт.

AR174398

REMAN-BASIC ENGINE

Remanufactured Basic Engine Assembly, assembly includes short block assembly, cylinder head, valve cover, front cover, oil pan, water pump, thermostat and gasket kit to transfer trim parts

1шт.

AC174398

CORE-BASIC ENGINE

Return Number. KNOWN POTENTIAL CORE VARIATIONS, REFER TO CORE CRITERIA FOR PROPER CORE IDENTIFICATION

1шт.

1989098C3

BASIC ENGINE

ENGINE ASSEMBLY basic

1шт.

The short remanufactured block assembly for Engine Serial Number 44833938 and after is not available at this time.

1шт.

JR921843

ENGINE, EXCHANGE

Engine (Exchange) Block Assembly, Short, Remanufactured, Component Parts Shown On This Figure Do Not Apply To The Remanufactured Assembly, Prior to Engine Serial Number 44833938, Includes: Ref. 2 - 9

1шт.

JC921843

CORE-SHORT ENGINE

Return Part Number, Use This Part Number To Return Short Block Core For Credit When Using a Remanufactured Assembly

1шт.

J926152

SKELETON ENGINE

BLOCK ASSEMBLY - short, new, includes stripped block, pistons, connecting rods and bearings, crankshaft and bearings, replaces J921843 block assembly, Includes: Ref. 2 - 9

1шт.

Order items 10 - 20 on page 2-37 when ordering J929604 stripped block.

1шт.

JR919934

BLOCK

Block Assembly, Stripped, Remaufactured, Component Parts Shown On This Figure Do Not Apply To The Remanufactured Assembly, No Longer Available, Order J929604 Stripped Block Assembly

1шт.

JC919374

CORE-ENGINE

Return Part Number, Use This Part Number To Return Stripped Core For Credit When Using a Remanufactured Assembly

1шт.

1

J929604

CRANKCASE

BLOCK ASSEMBLY - stripped engine, replaces J919934, J923289 and J926145 block assembly, Includes: Ref. 2 - 9

1шт.

Order items 10 - 20 on page 2-37 when ordering J929604 stripped block.

1шт.

2

J917313

BEARING CAP

CAP - bearing, main

7шт.

3

J916369

FLANGE BOLT,Hex, M14 x 2 x 128mm, Cl 10.9

SCREW, , To block Hex Flg Hd, M14 x 128

14шт.

4

J901685

BUSHING

BUSHING - camshaft, see Figure 2-32, Ref. 6

7шт.

5

A77782

PLUG

PLUG - expansion, 58 mm OD

1шт.

6

A77586

PLUG

PLUG - expansion, 28.9 mm OD

1шт.

7

A77506

PLUG

PLUG - expansion, 21 mm O.D.

4шт.

8

J905401

PLUG

PLUG - expansion, 35 mm OD

4шт.

9

A77439

PLUG

PLUG - expansion, 22 mm OD, not used in this application

1шт.

A77716

BLOCK

KIT - block hardware, no longer available, order components separately, Includes: Ref. 10 - 20

1шт.

Order items 10 - 20 on page 2-37 when ordering J929604 stripped block.

1шт.

10

A77530

PLUG

PLUG - expansion, 30 mm OD

2шт.

11

41-3044

PLUG,Exp, 2 3/4"

PLUG, , Replaces J901969 Exp, 2 3/4"

1шт.

12

J901846

PIN,12.01mm OD x 24mm L

PIN - dowel

4шт.

13

J906619

PLUG,1/8" - 27

PLUG - hex, 1/8 inch PT

6шт.

14

A77429

PLUG

PLUG - hex socket, 1/2 inch PT

5шт.

15

A77505

PLUG

PLUG - hex socket, 3/4 inch PT

2шт.

16

A77533

PLUG

PLUG - hex socket, 1 inch PT

1шт.

17

J919003

NOZZLE INJECTION

NOZZLE - piston cooling

12шт.

18

J900257

PIN,10.01mm OD x 16mm L

PIN - dowel, 16 mm long

2шт.

19

217-103

COCK, DRAIN

VALVE - 1/4 inch PT, coolant, replaces A77425 valve

1шт.

20

J903744

PIPE FITTING,22.42 mm ID x 28 mm OD x 90.2, 64 mm L

TUBE - turbocharger oil drain, see Figure 2-18 for connecting turbocharger parts

1шт.

21

J920762

ELBOW

HOSE - elbow, water, 79 mm (3-1/8 inch)

1шт.

22

J918521

HOSE CLAMP,59mm - 83mm

CLAMP - adj, 1-13/16 - 2-3/4 inch dia, water inlet hose

1шт.

23

J907208

TUBE,50.8 mm DIA x 295.3 mm L

TUBE - water inlet

1шт.

24

845-8016

BOLT,Hvy Hex, M8 x 16mm, Cl 8.8

BOLT - heavy hex flange, 8 - 1.25 x 16 mm

1шт.

25

J922847

CLAMP

CLAMP -, Serial Range: tube-hose

1шт.

26

J279239

TUBE

TUBE - oil dipstick, replaces J918385 tube

1шт.

27

J915026

DIPSTICK

DIPSTICK - oil

1шт.

28

J915152

BRACE

BRACE - tube support

1шт.

29

845-8016

BOLT,Hvy Hex, M8 x 16mm, Cl 8.8

BOLT - heavy hex flange, 8 - 1.25 x 16 mm

1шт.

30

825-1408

NUT,M8, Cl 8

Nut, M8, Cl 8

1шт.

31

854-10020

BOLT,Hvy Hex, M10 x 20mm, Cl 10.9

BOLT - heavy hex flange, 10 - 1.5 x 20 mm, class 10.9

1шт.

32

J905401

PLUG

PLUG - expansion, 35 mm OD, oil fill hole

1шт.

33

1546461C2

SWITCH

SWITCH - oil pressure, 10 psi, installed in the No. 2 oil port on the injection pump side of the engine, replaces 1546461C1 switch

1шт.

A77595

KIT

KIT - engine block heater, Includes: Ref. 34 and 35

1шт.

34

NSS

NOT SOLD SEPARAT

ELEMENT - heater, 120 volt, engine block

1шт.

35

J905113

CABLE

CABLE - engine block heater

1шт.

35

J905113

CABLE

CABLE - engine block heater

1шт.

Выбрано товаров: 53