Запчасти Case 9040 (4-26) - WINDSHIELD WIPER (04) - ELECTRICAL SYSTEMS

Схема запчастей Case 9040 - (4-26) - WINDSHIELD WIPER (04) - ELECTRICAL SYSTEMS
11
14
7
1
10
12
8
13
5
4
9
2
1
6
3
FIT
1:1
100%

Артикул

Название

Примечание

Количество

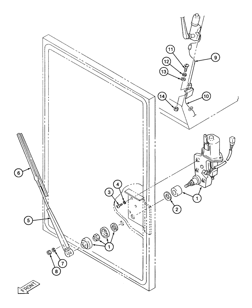
1

150849A1

WIPER MOTOR

MOTOR - windshield wiper, component parts not serviced separately

1шт.

2

150944A1

PACKING

SEAL - rubber washer

1шт.

3

840-1612

SCREW,Pan, M6 x 12mm, Cl 4.8

- machine, pan Phillips, 6 - 1.0 x 12 mm

3шт.

4

892-11006

LOCK WASHER,M6

WASHER, LOCK, M6

3шт.

150967A1

WINDSHIELD WIPER

WIPER ASSEMBLY - windshield, Includes: Ref. 5 and 6

1шт.

5

150853A1

WIPER ARM

ARM - wiper

1шт.

6

150851A1

WIPER BLADE

BLADE - wiper

1шт.

7

892-11008

LOCK WASHER,8mm ID

WASHER, LOCK, M8

1шт.

8

829-1408

NUT,Hex, M8 x 1.25, Cl 10.9

- hex, 8 mm - 1.25, class 10

1шт.

9

151316A1

HARNESS

- wiper, 230 mm long, upper

1шт.

10

151314A1

HARNESS

- wiper, 700 mm long, lower

1шт.

THE SMALL BRKT SHOWING TO THE LEFT OF REF 10 IS WELDED TO THE FRAME. IT IS NSS PER SUMITOMO. IF DEALER IS LOOKING FOR THE PLASTIC PIECE THAT ATTACHES TO THE BRKT, IT IS PART OF REF 10 HARNESS, 151314A1. THE CONNECTOR ON THIS HARNESS HAS A SMALL PLASTIC FLANGE WITH 2 BOLT HOLES TO ATTACH IT TO BRKT. 10/10/97 BW

1шт.

11

840-1312

SCREW,Pan, M3 x 121mm, Cl 4.8

- machine, pan Phillips, 3 - 0.5 x 12 mm

2шт.

12

892-11003

LOCK WASHER,M3

WASHER - lock, 3 mm

2шт.

13

895-11003

WASHER,3.2mm ID x 7mm OD x 0.5mm Thk

Flat (3.2 x 7 x 0.5 mm) M3

2шт.

14

824-1403

NUT,M3, Cl 5

2шт.

Выбрано товаров: 16