Запчасти Case 9040 (8-58) - 153359A1 TRACK DRIVE REMOTE CONTROL VALVE, HAND OPERATED CONTROLLERS (08) - HYDRAULICS

Схема запчастей Case 9040 - (8-58) - 153359A1 TRACK DRIVE REMOTE CONTROL VALVE, HAND OPERATED CONTROLLERS (08) - HYDRAULICS
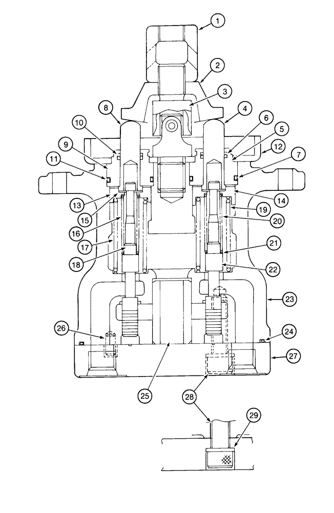
1
8
10
5
9
26
15
18
2
3
23
27
29
25
19
22
12
13
21
6
24
7
20
28
17
4
14
11
16
FIT
1:1
100%

Артикул

Название

Примечание

Количество

153359A1

VALVE

ASSEMBLY - remote control, hand operated controllers, Includes: Ref. 1 - 29

1шт.

1

156165A1

NUT

- hex

1шт.

2

155564A1

PLATE

ROCKER - remote control valve

1шт.

3

155253A1

JOINT

PIVOT - valve

1шт.

155767A1

ROD ASSY.

ROD ASSEMBLY - push, spool actuating, ports 1 and 3, Includes: Ref. 4 - 7

2шт.

4

NSS

NOT SOLD SEPARAT

ROD - push

1шт.

5

NSS

NOT SOLD SEPARAT

GUIDE - push rod

1шт.

6

155292A1

SEAL

- push, Serial Range: rod,-guide

1шт.

Included in Seal Kit P/N 155987A1

1шт.

7

154491A1

O-RING

, Serial Range: --housing

1шт.

Included in Seal Kit P/N 155987A1

1шт.

155768A1

ROD ASSY.

ROD ASSEMBLY - push, spool actuating, ports 2 and 4, Includes: Ref. 8 - 11

2шт.

8

NSS

NOT SOLD SEPARAT

ROD - push

1шт.

9

NSS

NOT SOLD SEPARAT

GUIDE - push rod

1шт.

10

155292A1

SEAL

- push, Serial Range: rod,-guide

1шт.

Included in Seal Kit P/N 155987A1

1шт.

11

154491A1

O-RING

, Serial Range: --housing

1шт.

Included in Seal Kit P/N 155987A1

1шт.

12

NSS

NOT SOLD SEPARAT

PLATE - cover, push rod end

1шт.

13

NSS

NOT SOLD SEPARAT

WASHER - flat, special

8шт.

14

NSS

NOT SOLD SEPARAT

SEAT - spring

2шт.

15

NSS

NOT SOLD SEPARAT

SEAT - spring

2шт.

16

156041A1

SPRING

- inner

2шт.

17

156040A1

SPRING

- valve, outer

2шт.

18

NSS

NOT SOLD SEPARAT

SPOOL - valve

2шт.

19

156039A1

SPRING

- outer

2шт.

20

156020A1

SPRING

- inner

2шт.

21

NSS

NOT SOLD SEPARAT

WASHER - flat, special

4шт.

22

NSS

NOT SOLD SEPARAT

SPOOL - valve

2шт.

23

NSS

NOT SOLD SEPARAT

HOUSING - valve

1шт.

24

155167A1

O-RING

- housing

1шт.

Included in Seal Kit P/N 155986A1

1шт.

25

NSS

NOT SOLD SEPARAT

BUSHING - valve

1шт.

26

738-1510

LOCK PIN,M5 x 10, Slotted

PIN - roll, 5 x 10 mm

1шт.

27

NSS

NOT SOLD SEPARAT

COVER - plate, base

1шт.

28

863-8030

HEX SOC SCREW,M8 x 30mm, Cl 12.9

SCREW - hex socket, 8 - 1.25 x 30 mm, class 12.9

2шт.

29

156164A1

SEALING WASHER

WASHER - sealing

2шт.

Included in Seal Kit P/N 155986A1

1шт.

155986A1

SEAL KIT

- seal, cover, Includes: Ref. 24 and 29

1шт.

155987A1

SEAL KIT

- seal, push rod, Includes: Ref. 6, 7, 10, 11

1шт.

Выбрано товаров: 40