Запчасти Case 9040 (8-62) - 152744A1 TRAVEL SHUTTLE VALVE (08) - HYDRAULICS

Схема запчастей Case 9040 - (8-62) - 152744A1 TRAVEL SHUTTLE VALVE (08) - HYDRAULICS
5
3
4
8
6
2
1
7
FIT
1:1
100%

Артикул

Название

Примечание

Количество

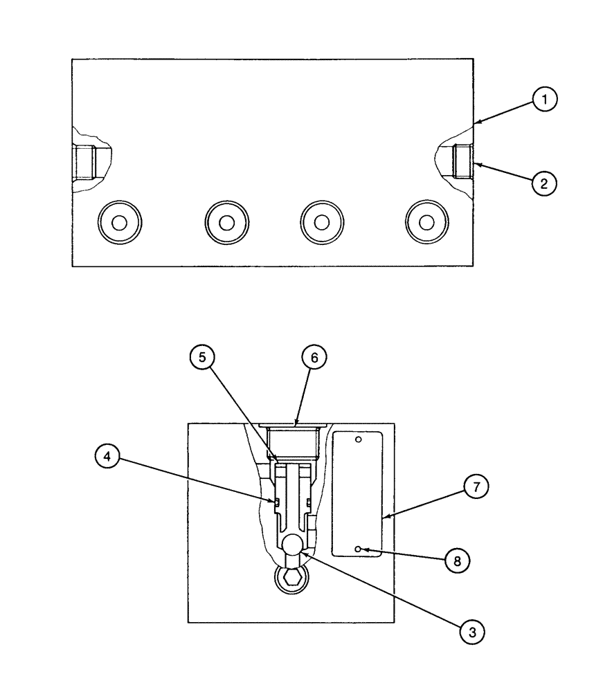
152744A1

SHUT-OFF VALVE

VALVE ASSEMBLY - shuttle, travel, Includes: Ref. 1 - 8

1шт.

1

NSS

NOT SOLD SEPARAT

BODY - valve

1шт.

2

151022A1

PLUG

- hex socket, special

2шт.

3

155976A1

BALL

- steel

4шт.

4

154458A1

O-RING

- seal, shuttle

4шт.

5

155565A1

SEAT

SHUTTLE - valve

4шт.

6

151030A1

PLUG

- port, special

4шт.

7

NSS

NOT SOLD SEPARAT

PLATE - identification

1шт.

8

NSS

NOT SOLD SEPARAT

SCREW - plate retaining

2шт.

Выбрано товаров: 9