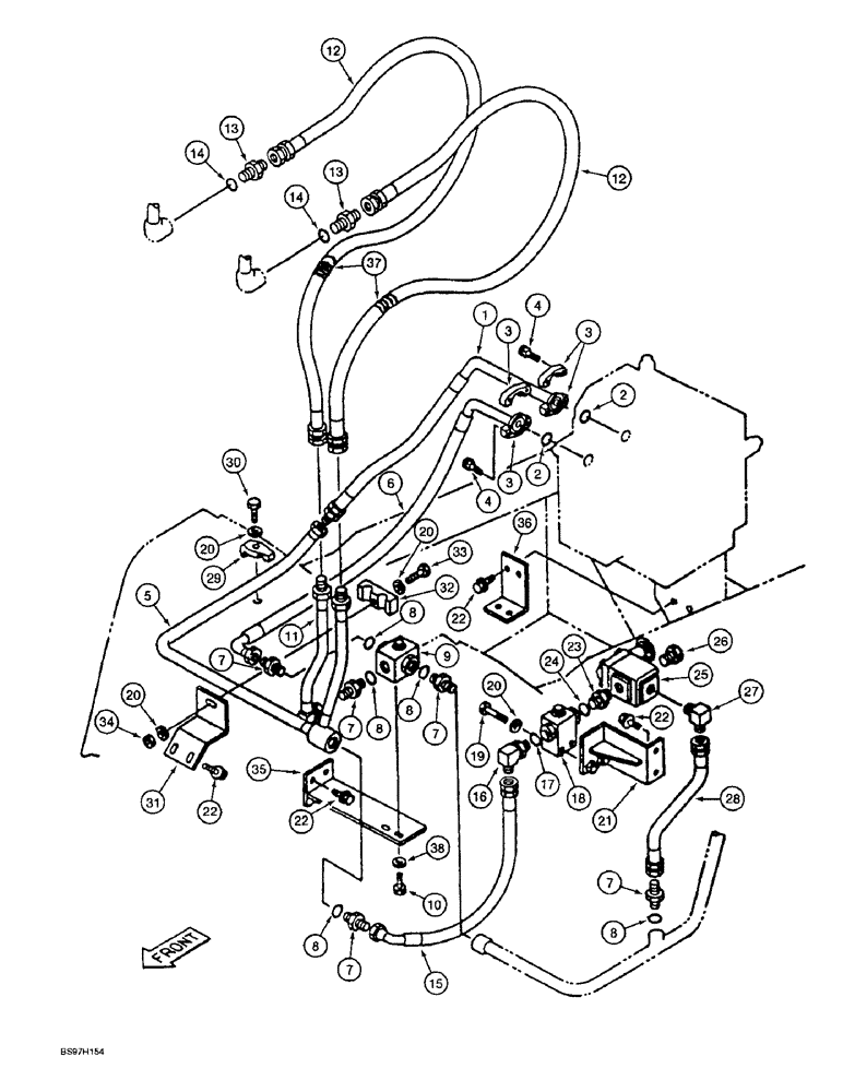
Запчасти Case 9040B (8-090) - DBL ACTN AUXLY EQUIP OPT,CONTROL VLVE TO CYLD/RELIEF CIRCTS, STD MODLS PRIOR TO PIN DAC0401166 (08) - HYDRAULICS

Схема запчастей Case 9040B - (8-090) - DBL ACTN AUXLY EQUIP OPT,CONTROL VLVE TO CYLD/RELIEF CIRCTS, STD MODLS PRIOR TO PIN DAC0401166 (08) - HYDRAULICS
22
4
38
3
17
8
8
13
9
26
33
56
19
34
15
14
20
7
2
11
12
6
37
22
16
28
14
4
7
21
8
13
1
29
35
25
30
8
2
3
3
23
20
20
10
7
27
32
12
24
18
5
22
7
20
22
31
7
FIT
1:1
100%

Артикул

Название

Примечание

Количество

1

159730A1

HYDRAULIC HOSE,19 mm ID x 580 mm L

- 19.00 mm ID x 580.00 mm

1шт.

2

155210A1

O-RING

- seal, flange

2шт.

3

153458A1

FLANGE

- split

4шт.

4

862-10030

HEX SOC SCREW,M10 x 30mm, Cl 12.9

SCREW - hex socket, 10 - 1.5 x 30 mm, class 12.9

8шт.

5

159720A1

HYD TUBE,20.8 mm ID, 27.2 mm OD

TUBE - hydraulic

1шт.

6

159732A1

HYDRAULIC HOSE,19.00 mm ID x 900.00 mm

19.00 mm ID x 900.00 mm

1шт.

7

151654A1

HYD CONNECTOR,3/4" NPT O-Ring x 3/4" NPT

ADAPTER - straight, Includes: Ref. 8

5шт.

8

154503A1

O-RING

- adapter

1шт.

9

159748A1

VALVE

- selector

1шт.

10

627-10020

BOLT,Hex, M10 x 1.5 x 20mm, Cl 10.9, Full Thd

- hex, full threads, 10 - 1.5 x 20 mm, class 10.9

2шт.

11

159721A1

HYD TUBE,20.8 mm ID, 27.2 mm OD

TUBE - hydraulic

1шт.

12

159731A1

HYDRAULIC HOSE,25.40 mm ID x 2000.00 mm

- 25.40 mm ID x 2000.00 mm

2шт.

13

151655A1

HYD CONNECTOR,1" NPT O-Ring x 1" NPT

ADAPTER - straight, Includes: Ref. 14

2шт.

14

154523A1

O-RING

- adapter

2шт.

15

159724A1

HYDRAULIC HOSE,19.00 mm ID x 660.00 mm

19.00 mm ID x 660.00 mm

1шт.

16

159372A1

ELBOW

- 90 degree, special, Includes: Ref. 17

1шт.

17

154503A1

O-RING

- elbow

1шт.

18

159485A1

VALVE

- selector

1шт.

19

827-12070

BOLT,Hex, M12 x 1.75 x 70mm, Cl 10.9

- hex, 12 - 1.75 x 70 mm, class 10.9

2шт.

20

150811A1

WASHER

- flat, special, 12 mm

5шт.

21

159723A1

BRACKET

- mounting

1шт.

22

152718A1

BOLT,Spcl, Hex Wshr, M12 x 25mm, Cl 10.9

- special

8шт.

23

157685A1

HYD CONNECTOR

ADAPTER - straight, special, Includes: Ref. 24

1шт.

24

154503A1

O-RING

- adapter

1шт.

25

159490A1

VALVE

- relief

1шт.

26

151002A1

PLUG

- pipe

1шт.

27

153622A1

ADAPTER

ELBOW - 90 degree, special

1шт.

28

159747A1

HYDRAULIC HOSE,19.00 mm ID x 400.00 mm

19.00 mm ID x 400.00 mm

1шт.

29

151486A1

CLAMP BRACKET

CLAMP - tube

1шт.

30

827-12060

BOLT,Hex, M12 x 1.75 x 60mm, Cl 10.9

- hex, 12 - 1.75 x 60 mm, class 10.9

1шт.

31

159435A1

BRACKET

- mounting

1шт.

32

152085A1

COLLAR

CLAMP - tube

1шт.

33

827-12065

BOLT,Hex, M12 x 1.75 x 65mm, Cl 10.9

- hex, 12 - 1.75 x 65 mm, class 10.9

1шт.

34

829-1412

NUT,M12, Cl 10.9

- hex, 12 mm - 1.75, class 10

1шт.

35

159722A1

BRACKET

- mounting

1шт.

36

159716A1

BRACKET

- mounting

1шт.

37

159498A1

GUARD

- hose

2шт.

38

150409A1

WASHER

- flat, special, 10.5 x 21 x 3.2 mm

2шт.

Выбрано товаров: 38