Запчасти Case 9040B (8-171A) - ARM AND BOOM HOLDING OPTION, LOAD HOLDING VALVE COMPONENTS (08) - HYDRAULICS

Схема запчастей Case 9040B - (8-171A) - ARM AND BOOM HOLDING OPTION, LOAD HOLDING VALVE COMPONENTS (08) - HYDRAULICS
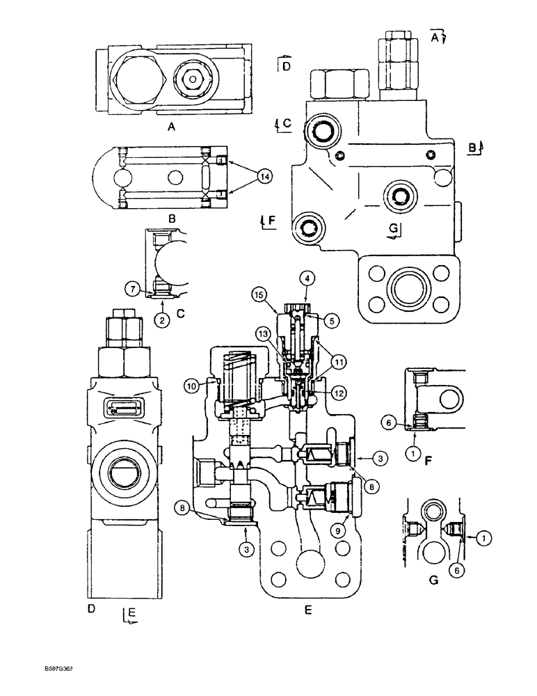
3
6
1
1
2
8
6
5
11
6
10
15
13
14
3
12
9
7
4
FIT
1:1
100%

Артикул

Название

Примечание

Количество

164389A1

VALVE

ASSEMBLY - load holding, boom cylinder, models with Long Reach, component information not available at time of printing, Includes: Ref. 1 - 15

1шт.

162811A1

VALVE

ASSEMBLY - load holding, boom cylinder, standard models without Long Reach (the following components have been established for this valve only, other components are NSS), Includes: Ref. 1 - 15

1шт.

1

160083A1

PLUG

- port

2шт.

2

155515A1

PLUG

- port

1шт.

3

163874A1

PLUG

- port

2шт.

4

165150A1

NUT

- hex, special

1шт.

5

154463A1

O-RING

- relief valve adjusting screw

1шт.

6

154467A1

O-RING,10.8mm ID x 2.4mm Width

- plug (replaces 163869A1)

2шт.

7

154475A1

O-RING

- plug

1шт.

8

154487A1

O-RING

- plug (replaces 163870A1)

2шт.

9

154503A1

O-RING

- plug

1шт.

10

154548A1

O-RING

- plug

1шт.

11

155223A1

O-RING

- relief valve to sleeve and, Serial Range: sleeve-housing

2шт.

12

154457A1

O-RING

- relief valve

1шт.

13

154481A1

O-RING

- relief valve

1шт.

14

163873A1

PLUG

- port

6шт.

15

163879A1

VALVE

ASSEMBLY - relief

1шт.

Выбрано товаров: 17