Запчасти Case 9040B (8-188) - SWING REDUCTION GEAR ASSEMBLY (08) - HYDRAULICS

Схема запчастей Case 9040B - (8-188) - SWING REDUCTION GEAR ASSEMBLY (08) - HYDRAULICS
18
10
12
4
9
17
14
6
11
8
15
5
16
13
7
3
2
1
FIT
1:1
100%

Артикул

Название

Примечание

Количество

160152A1

GEAR

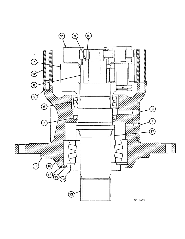
ASSEMBLY - reduction, Includes: Ref. 1 - 18

1шт.

1

NSS

NOT SOLD SEPARAT

HOUSING - swing gear reduction assembly, Includes: Ref. 2 - 4

1шт.

2

155621A1

COTTER PIN

PIN - dowel

4шт.

3

151030A1

PLUG

- port

1шт.

4

151022A1

PLUG

- hex socket, special

2шт.

5

159957A1

OIL SEAL

- oil

1шт.

6

160274A1

ROLLER BEARING,110 mm ID x 170 mm OD x 45 mm

BEARING - roller, thrust

1шт.

7

NSS

NOT SOLD SEPARAT

CARRIER - planetary

1шт.

8

160011A1

GEAR

- differential

1шт.

9

160047A1

PLATE, THRUST

RING - thrust

1шт.

10

160013A1

SUN GEAR

GEAR - sun

1шт.

11

NSS

NOT SOLD SEPARAT

CARRIER - planetary

1шт.

12

160012A1

PINION

GEAR - ring

1шт.

13

160032A1

SHAFT

- drive

1шт.

14

160107A1

COLLAR

- shaft

1шт.

15

160332A1

PLATE

- shaft

1шт.

16

160275A1

ROLLER BEARING,110 mm ID x 240 mm OD x 80 mm

BEARING - roller, thrust

1шт.

17

160108A1

COLLAR

- shaft

1шт.

18

160102A1

RING, SNAP

RING - retaining

1шт.

Выбрано товаров: 19