Запчасти Case 9040B (5-06) - TRACK CHAIN AND SHOES, ALL MODELS EXCEPT TIMBER KING MODELS (11) - TRACKS/STEERING

Схема запчастей Case 9040B - (5-06) - TRACK CHAIN AND SHOES, ALL MODELS EXCEPT TIMBER KING MODELS (11) - TRACKS/STEERING
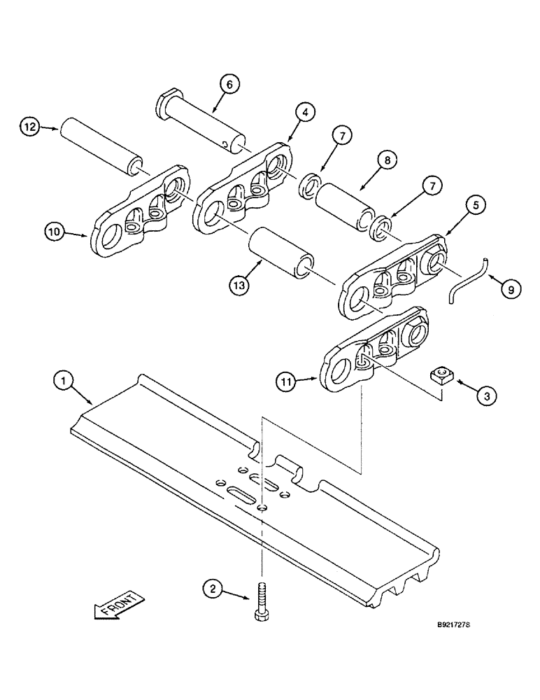
7
11
2
7
3
10
8
6
9
4
13
12
1
5
FIT
1:1
100%

Артикул

Название

Примечание

Количество

159422A1

TRACK CHAIN

CHAIN ASSEMBLY - track, Includes: Ref. 1 - 13

2шт.

1

159397A1

TRACK SHOE

SHOE - track, three bar grouser, 800 mm (31-1/2 inch) wide

102шт.

2

159668A1

BOLT,Hex, M20 x 1.5 x 53mm

BOLT - special

408шт.

3

151767A1

NUT

- special

408шт.

159419A1

CHAIN (CE)

CHAIN ASSEMBLY - track, Includes: Ref. 4 - 13

2шт.

4

159674A1

LINK

- master, chain, right-hand

2шт.

5

159675A1

LINK

- master, chain, left-hand

2шт.

6

159676A1

HEADED PIN,36.3mm OD x 208mm L

PIN - master link, with head and pin hole

2шт.

7

159673A1

SPACER, RING

SPACER - bushing

4шт.

8

159694A1

BUSHING

- master link pin

2шт.

9

159677A1

COTTER PIN,8mm OD

PIN - lock, for master link pin

2шт.

10

159670A1

LINK

- track chain, standard right-hand

100шт.

11

159671A1

LINK

- track chain, standard left-hand

100шт.

12

159672A1

PIN

- link, standard track chain link

100шт.

13

159693A1

SPACER

BUSHING - link pin, standard track chain link

100шт.

For info. on new sealed and greased track chain parts for 600 mm shoe applications see installation diagram 364068A1.

1шт.

For info. on new sealed and greased track chain parts for 700 mm shoe applications see installation diagram 364064A1. (see next figure notes for 700 mm application parts for 9040B TK machines).

1шт.

For info. on new sealed and greased track chain parts for 800 mm shoe applications see installation diagram 364066A1.

1шт.

Выбрано товаров: 18