Запчасти Case 9040B (2-72) - CYLINDER BLOCK, 6T-830 EMISSIONS CERTIFIED ENGINE, P.I.N. DAC04#2001 AND AFTER (02) - ENGINE

Схема запчастей Case 9040B - (2-72) - CYLINDER BLOCK, 6T-830 EMISSIONS CERTIFIED ENGINE, P.I.N. DAC04#2001 AND AFTER (02) - ENGINE
15
22
27
28
18
25
34
30
2
14
6
3
7
35
11
24
8
8
16
1
7
4
32
21
19
26
23
31
5
17
7
7
29
11a
3
9
2
12
20
10
14
14
33
FIT
1:1
100%

Артикул

Название

Примечание

Количество

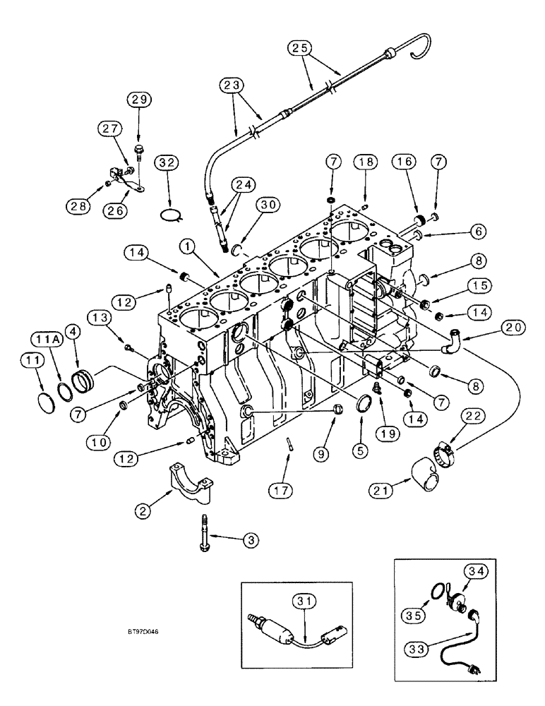
197902A1

ENGINE ASSEMBLY - 6T-830 Emissions Certified, complete, for service order 199949A1 basic engine below, Includes: Ref. 2 - 20

1шт.

The engine part number is stamped on a metal tag, which is mounted on the front gear cover.

1шт.

199949A1

BASIC ENGINE

ASSEMBLY basic - Includes all parts except starter, alternator, fan, fan belt, air cleaner, muffler, exhaust manifold, flywheel and housing, oil fill and dipstick, fuel injection pump, injectors and lines, front pulley, belt tensioner

1шт.

199949A1R

REMAN-BASIC ENGINE

Engine Assembly - remanufactured component parts shown on this figure do not apply to the remanufactured assembly, Includes: Ref. 2 - 20; See Note

1шт.

199949A1C

CORE-BASIC ENGINE

Return Part Number use this part number to return engine core for credit when using a remanufactured assembly, Includes: Ref. 2 - 20

1шт.

JR931187

BLOCK

Assembly - short, remanufactured component parts shown on this figure do not apply to the remanufactured assembly, Includes: Ref. 2 - 20

1шт.

JC931187

CORE-ENGINE

Return Part Number - use this part number to return block core for credit when using a remanufactured assembly, Includes: Ref. 2 - 20

1шт.

1

J931187

SKELETON ENGINE

BLOCK ASSEMBLY - short, new, includes stripped block, pistons, connecting rods and bearings, crankshaft and bearings, Includes: Ref. 2 - 20

1шт.

2

J917313

BEARING CAP

CAP - bearing, main

7шт.

3

J916369

FLANGE BOLT,Hex, M14 x 2 x 128mm, Cl 10.9

SCREW, , Bearing cap to block Hex Flg Hd, M14 x 128

14шт.

4

J901685

BUSHING

- camshaft, see figure 2-66, Ref. 6

7шт.

5

A77782

PLUG

- expansion, 58 mm O.D.

1шт.

6

A77586

PLUG

- expansion, 28.9 mm O.D.

1шт.

7

A77506

PLUG

- expansion, 21 mm O.D.

4шт.

8

J905401

PLUG

- expansion, 35 mm O.D.

4шт.

9

J920706

PLUG

- expansion, 22 mm O.D.

1шт.

9a

J929561

FLANGE BOLT,Hex, M10 x 1.5 x 16mm

BOLT - hex flange, special, 10 - 1.5 x 16 mm, located at single boss above oil fill tube on left-hand side of engine

1шт.

10

A77530

PLUG

- expansion, 30 mm O.D., not used in this application

2шт.

11

41-3044

PLUG,Exp, 2 3/4"

1шт.

11a

J926048

O-RING,0.07" Thk x 2.614" ID, -38, Cl 5, 75 Duro

- sealing, 66 mm ID

1шт.

12

J901846

PIN,12.01mm OD x 24mm L

- dowel

4шт.

13

J906619

PLUG,1/8" - 27

- hex, 1/8 inch PT

6шт.

14

A77429

PLUG

- hex socket, 1/2 inch PT

4шт.

15

A77505

PLUG

- hex socket, 3/4 inch PT

2шт.

16

A77533

PLUG

- hex socket, 1 inch PT

1шт.

17

J928031

NOZZLE,8.5mm OD x 30mm L

- piston cooling

12шт.

18

J900257

PIN,10.01mm OD x 16mm L

- dowel, 16 mm long

2шт.

19

217-103

COCK, DRAIN

VALVE - 1/4 inch PT, coolant

1шт.

20

J903744

PIPE FITTING,22.42 mm ID x 28 mm OD x 90.2, 64 mm L

TUBE - turbocharger oil drain, not used in this application, see connecting parts on figure 2-30

1шт.

21

J920762

ELBOW

HOSE - 79 mm (3-1/8 inch)

1шт.

22

J918521

HOSE CLAMP,59mm - 83mm

CLAMP - adj, 1-13/16 - 2-3/4 inch dia.

1шт.

23

J279239

TUBE

- oil dipstick, assembled on Ref. 24

1шт.

24

A77645

TUBE

- oil dipstick, at block

1шт.

25

J915026

DIPSTICK

- oil, engine

1шт.

26

J916288

CLAMP

BRACE - tube support, retains dipstick tube to exhaust manifold

1шт.

27

845-8016

BOLT,Hvy Hex, M8 x 16mm, Cl 8.8

- heavy hex flange, 8 - 1.25 x 16 mm

1шт.

28

825-1408

NUT,M8, Cl 8

Retains dipstick tube to dipstick tube brace M8, Cl 8

1шт.

29

845-10020

BOLT - heavy hex flange, 10 - 1.50 x 20 mm, retains dipstick tube brace to front boss on top of the exhaust manifold

1шт.

30

J905401

PLUG

- expansion, 35 mm OD, oil fill hole

1шт.

31

1546461C2

SWITCH

- oil pressure, 10 psi, installed in No. 2 oil port on the injection pump side of the engine

1шт.

32

214-1308

HOSE CLAMP,#8, 1/2", Spring

CLAMP, HOSE, , Retains dipstick tube to dipstick tube brace #8, 1/2", Spring

1шт.

196804A1

KIT

- engine block heater, Includes: Ref. 33 - 35

1шт.

33

196466A1

ELECTRIC CABLE

CABLE - engine block heater

1шт.

34

NSS

NOT SOLD SEPARAT

ELEMENT - heater, 120 volt, 1000 watt, engine block heater

1шт.

35

J910517

O-RING

- heater sealing, engine block heater

1шт.

Выбрано товаров: 45