Запчасти Case 9040B (4-42) - COLD WEATHER STARTING SYSTEM (04) - ELECTRICAL SYSTEMS

Схема запчастей Case 9040B - (4-42) - COLD WEATHER STARTING SYSTEM (04) - ELECTRICAL SYSTEMS
15
12
2
11
9
5
1
8
6
7
16
14
10
6
4
13
3
FIT
1:1
100%

Артикул

Название

Примечание

Количество

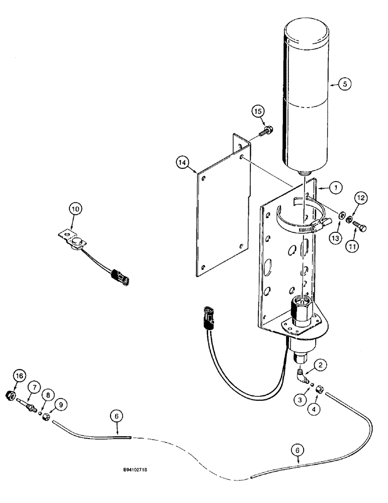
L126094

VALVE

ASSEMBLY - solenoid, Includes: Ref. 1 - 4

1шт.

1

NSS

NOT SOLD SEPARAT

VALVE - component parts not serviced separately

1шт.

222-615

ELBOW,90 Degree, 5/16"-24 x 1/8" NPT, Comp

1/8 tube OD, Incl. Ref 2 - 4 90º, 5/16"-24 x 1/8" NPT, Comp

1шт.

2

NSS

NOT SOLD SEPARAT

BODY - elbow

1шт.

3

222-650

SLEEVE,1/8" Tube, Comp

- tapered, 1/8 inch tube OD

1шт.

4

222-660

FLANGE NUT,5/16"-24, 45 Degree Fl, Comp

1/8" tube OD 5/16"-24, 45º Fl, Comp

1шт.

5

A171940

CYLINDER

- starting fluid

1шт.

6

116992A2

TUBE,0.125 mm OD

- nylon, 2693 mm (106 inch) long, cut from L60539X bulk tube, see below

1шт.

A172900

NOZZLE CAP

NOZZLE ASSEMBLY - atomizer, Includes: Ref. 7 - 9

1шт.

7

NSS

NOT SOLD SEPARAT

BODY - nozzle

1шт.

8

222-650

SLEEVE,1/8" Tube, Comp

- tapered, 1/8 inch tube OD

1шт.

9

222-660

FLANGE NUT,5/16"-24, 45 Degree Fl, Comp

1/8" tube OD 5/16"-24, 45º Fl, Comp

1шт.

10

L126191

THERMOSTATIC SWITCH

THERMOCOUPLE - circuit breaking, includes lead wires

1шт.

11

627-8020

BOLT,Hex, M8 x 1.25 x 20mm, Cl 10.9, Full Thd

- hex, full threads, 8 - 1.25 x 20 mm, class 10.9

3шт.

12

892-11008

LOCK WASHER,8mm ID

WASHER, LOCK, M8

3шт.

14

160625A1

BRACKET

- mounting, solenoid valve

1шт.

15

152718A1

BOLT,Spcl, Hex Wshr, M12 x 25mm, Cl 10.9

- special, bracket retaining

2шт.

16

217-40

REDUCER,1/4"-18 NPTF x 1/8"-27 Fem NPTF

- 1/4 PT x 1/8 inch female PT

1шт.

L60539X

TUBE

- bulk, nylon, 3 (1/8) ID x 4267 mm (168 inch) long

1шт.

13

895-11008

WASHER,9mm ID x 16mm OD x 1.6mm Thk

- flat, 9 x 17 x 1.6 mm

3шт.

Выбрано товаров: 20