Запчасти Case 9045B (8-116) - SHUTTLE VALVE ASSEMBLY (08) - HYDRAULICS

Схема запчастей Case 9045B - (8-116) - SHUTTLE VALVE ASSEMBLY (08) - HYDRAULICS
2
4
1
5
3
FIT
1:1
100%

Артикул

Название

Примечание

Количество

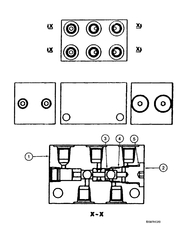
KHJ17130

VALVE SECTION

VALVE ASSEMBLY - shuttle, Includes: Ref. 1 - 5; Replaces 160355A1

1шт.

1

NSS

NOT SOLD SEPARAT

BODY - valve

1шт.

2

NSS

NOT SOLD SEPARAT

PLUG - valve, special

2шт.

3

154446A1

O-RING

- plug, inner

2шт.

4

154474A1

O-RING

- plug, center

2шт.

5

154486A1

O-RING

- plug, outer

2шт.

Выбрано товаров: 6