Запчасти Case 9045B (8-118) - SWING BRAKE RELEASE VALVE (08) - HYDRAULICS

Схема запчастей Case 9045B - (8-118) - SWING BRAKE RELEASE VALVE (08) - HYDRAULICS
22
24
22
8
17
9
13
10
9
21
12
2
5
6
8
20
18
7
25
23
2
5
1
15
4
16
3
6
7
23
4
14
11
19
23
23
FIT
1:1
100%

Артикул

Название

Примечание

Количество

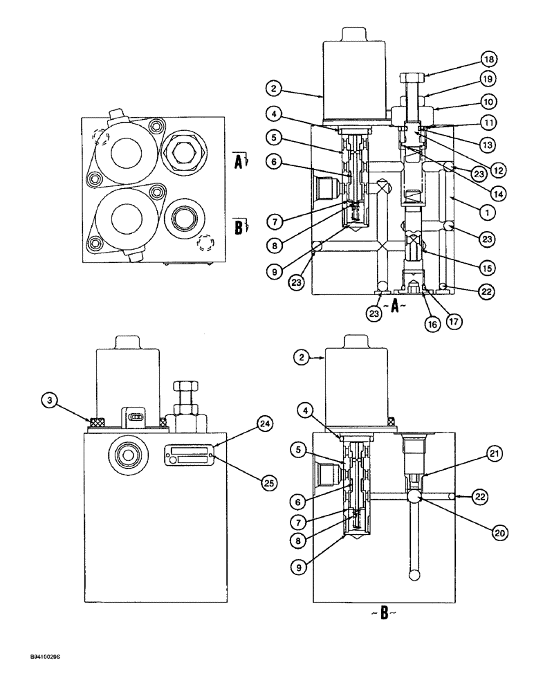
159242A1

VALVE

ASSEMBLY - swing brake release, Includes: Ref. 1 - 25

1шт.

1

NSS

NOT SOLD SEPARAT

HOUSING - valve

1шт.

2

160319A1

SOLENOID

- valve

2шт.

3

160298A1

BOLT,Hex Skt

BOLT - hex socket head, special

4шт.

4

154482A1

O-RING

- solenoid

2шт.

5

NSS

NOT SOLD SEPARAT

SLEEVE - valve

2шт.

Part of valve repair kit P/N 160135A1

1шт.

6

NSS

NOT SOLD SEPARAT

SPOOL - valve

2шт.

Part of valve repair kit P/N 160135A1

1шт.

7

NSS

NOT SOLD SEPARAT

SEAT - spring

2шт.

Part of valve repair kit P/N 160135A1

1шт.

8

NSS

NOT SOLD SEPARAT

SPRING - compression, valve

2шт.

Part of valve seal kit P/N 160130A1

1шт.

9

NSS

NOT SOLD SEPARAT

SEAT - spring

2шт.

Part of valve repair kit P/N 160135A1

1шт.

10

160318A1

COVER

- valve

1шт.

11

154475A1

O-RING

- cover

1шт.

12

160066A1

PLUG

- spring guide, valve

1шт.

13

154450A1

O-RING

- plug

1шт.

14

160244A1

SPRING

- compression, valve

1шт.

15

160192A1

SPOOL

- valve

1шт.

16

160083A1

PLUG

- port

1шт.

17

154467A1

O-RING,10.8mm ID x 2.4mm Width

- plug

1шт.

19

829-1408

NUT,Hex, M8 x 1.25, Cl 10.9

- hex, 8 mm - 1.25, class 10, locking

1шт.

20

160320A1

BALL

- steel

2шт.

21

160245A1

SEAT

- valve

1шт.

22

NSS

NOT SOLD SEPARAT

BALL - steel

2шт.

23

NSS

NOT SOLD SEPARAT

BALL - steel

5шт.

24

NSS

NOT SOLD SEPARAT

PLATE - name

1шт.

25

NSS

NOT SOLD SEPARAT

RIVET - name plate mounting

2шт.

160135A1

GASKET KIT

KIT - repair, valve, Includes: Refs. 5 - 9

1шт.

18

627-8025

BOLT,Hex, M8 x 1.25 x 25mm, Cl 10.9, Full Thd

- hex, full threads, 8 - 1.25 x 25 mm, class 10.9, Adjusting

1шт.

Выбрано товаров: 32