Запчасти Case 9045B (8-128) - BOOM HOLDING OPTION, LOAD HOLDING VALVE COMPONENTS (08) - HYDRAULICS

Схема запчастей Case 9045B - (8-128) - BOOM HOLDING OPTION, LOAD HOLDING VALVE COMPONENTS (08) - HYDRAULICS
6
15
3
5
12
3
2
8
11
7
13
1
1
6
10
9
4
8
FIT
1:1
100%

Артикул

Название

Примечание

Количество

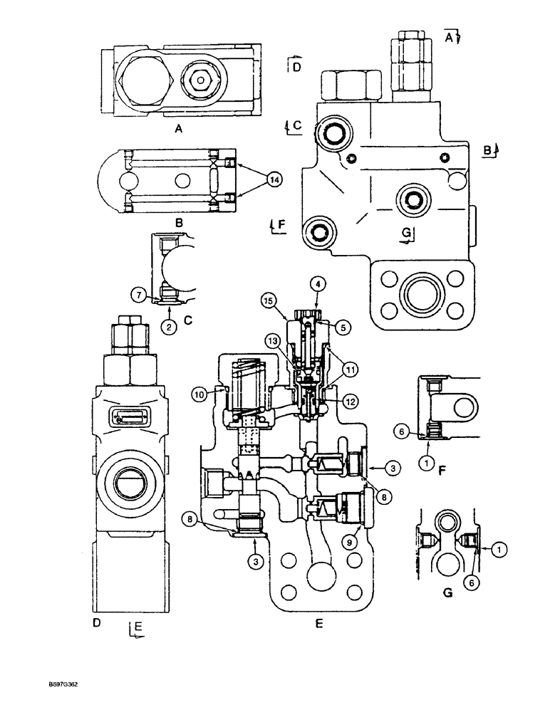
162811A1

VALVE

ASSEMBLY - load holding, boom cylinder, the following components have been established for service, other components are NSS, Includes: Ref. 1 - 15

1шт.

1

160083A1

PLUG

- port

2шт.

2

155515A1

PLUG

- port

1шт.

3

163874A1

PLUG

- port

2шт.

4

165150A1

NUT

- hex, special

1шт.

5

154463A1

O-RING

- relief valve adjusting screw

1шт.

6

163869A1

O-RING - plug

2шт.

7

154475A1

O-RING

- plug

1шт.

8

163870A1

O-RING - plug

2шт.

9

163871A1

O-RING - plug

1шт.

10

154548A1

O-RING

- plug

1шт.

11

155223A1

O-RING

- relief valve to sleeve and, Serial Range: sleeve-housing

2шт.

12

154457A1

O-RING

- relief valve

1шт.

13

154481A1

O-RING

- relief valve

1шт.

14

163873A1

PLUG

- port

6шт.

15

163879A1

VALVE

ASSEMBLY - relief

1шт.

Выбрано товаров: 16