Запчасти Case 9045B (2-24) - OIL FILTER AND COOLER, 6T-830 EMISSIONS CERTIFIED ENGINE (02) - ENGINE

Схема запчастей Case 9045B - (2-24) - OIL FILTER AND COOLER, 6T-830 EMISSIONS CERTIFIED ENGINE (02) - ENGINE
11
15
16
12
1
5
6
7
8
4
19
18
10
14
9
17
13
20
3
2
FIT
1:1
100%

Артикул

Название

Примечание

Количество

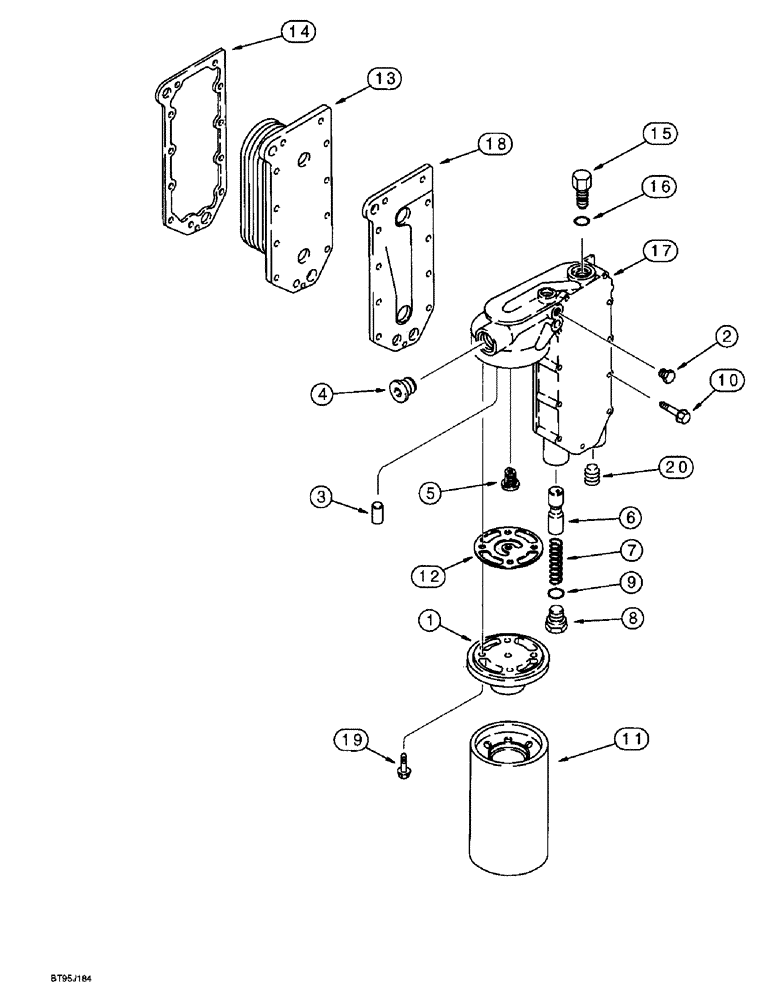
1

J918334

FILTER HEAD

HEAD, FILTER, Oil

1шт.

2

J906619

PLUG,1/8" - 27

- hex, 1/8 inch PT, oil filter head

2шт.

3

A77722

PIN,7.95mm OD x 12.83mm L

- dowel, locating

1шт.

4

A77505

PLUG

- hex socket, 3/4 inch PT, oil filter head

1шт.

5

J927622

VALVE, PRESSURE RELI

VALVE - relief, pressure

1шт.

6

J918532

PLUNGER

- regulator

1шт.

7

A77541

SPRING

- compression

1шт.

8

J931084

PLUG

- hex, special, 24 mm - 1.50, oil pressure regulator, Includes: Ref. 9

1шт.

9

238-5022

O-RING,0.07" Thk x 0.99" ID, -22, Cl 5, 75 Duro

-022, 70 Duro, .989" ID x .070" Thk

1шт.

10

845-8065

BOLT,Hvy Hex, M8 x 65mm, Cl 8.8

- heavy hex flange, 8 - 1.25 x 65 mm, oil filter head to cylinder block

11шт.

11

J919562

ENGINE OIL FILTER

FILTER - oil, cartridge

1шт.

12

J921605

GASKET

- filter head

1шт.

13

J918175

CORE, RADIATOR

CORE - oil cooler

1шт.

14

J918174

GASKET,0.71mm Thk

- cooler core

1шт.

15

J923477

THERMOSTAT

ASSEMBLY - temperature, oil, Includes: Ref. 16

1шт.

16

A77724

O-RING,3.05mm Thk x 23.62mm ID

- sealing

1шт.

17

J931077

COVER

- oil cooler

1шт.

18

J929011

GASKET,1.19mm Thk

- cooler cover

1шт.

19

J907860

FLANGE BOLT,Hex, M8 x 25mm, Spcl

BOLT - hex flange, special, 8 - 1.25 x 25 mm

4шт.

20

217-439

PLUG,Hex Soc, 1/2" - 14 NPTF

- hex socket headless, 1/2 inch PT, Water drain

1шт.

Выбрано товаров: 20