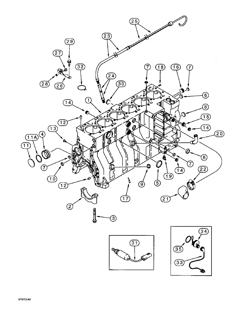
Запчасти Case 9045B (2-38) - CYLINDER BLOCK, 6T-830 EMISSIONS CERTIFIED ENGINE (02) - ENGINE

Схема запчастей Case 9045B - (2-38) - CYLINDER BLOCK, 6T-830 EMISSIONS CERTIFIED ENGINE (02) - ENGINE
7
16
13
8
29
2
11a
1
7
14
11
14
5
7
32
21
7
24
8
28
20
34
14
10
15
12
9
3
35
33
30
23
26
25
18
17
19
4
12
31
6
22
27
FIT
1:1
100%

Артикул

Название

Примечание

Количество

197902A1

ENGINE ASSEMBLY - 6T-830 Emissions Certified, complete, for service order 199949A1 basic engine below, Includes: Ref. 2 - 20

1шт.

The engine part number is stamped on a metal tag, which is mounted on the front gear cover.

1шт.

199949A1

BASIC ENGINE

ASSEMBLY, includes all parts except: starter, alternator, fan, fan belt, air cleaner, muffler, exhaust manifold, flywheel & housing, oil fill & dipstick, fuel injeciton pump, injectors & lines, front pulley, belt tensioner, turbocharger & aftercooler

1шт.

199949A1R

REMAN-BASIC ENGINE

ENngine Assembly - remanufactured component parts shown on this Figure do not apply to the remanufactured assembly, Includes: Ref. 2 - 20; See Note

1шт.

199949A1C

CORE-BASIC ENGINE

Return Part Number use this part number to return engine core for credit when using a remanufactured assembly, Includes: Ref. 2 - 20

1шт.

JR931187

BLOCK

Block Assembly - short, remanufactured component parts shown on this Figure do not apply to the remanufactured assembly, Includes: Ref. 2 - 20

1шт.

JC931187

CORE-ENGINE

Return Part Number - use this part number to return block core for credit when using a remanufactured assembly , Includes: Ref. 2 - 20

1шт.

1

J931187

SKELETON ENGINE

BLOCK ASSEMBLY - short, new, includes stripped block, pistons, connecting rods and bearings, crankshaft and bearings , Includes: Ref. 2 - 20

1шт.

2

J917313

BEARING CAP

CAP - bearing, main

7шт.

3

J916369

FLANGE BOLT,Hex, M14 x 2 x 128mm, Cl 10.9

SCREW, , Bearing cap to block Hex Flg Hd, M14 x 128

14шт.

4

J901685

BUSHING

BUSHING - camshaft, see page 2-67, Ref. 6

7шт.

5

A77782

PLUG

PLUG - expansion, 58 mm O.D.

1шт.

6

A77586

PLUG

PLUG - expansion, 28.9 mm O.D.

1шт.

7

A77506

PLUG

PLUG - expansion, 21 mm O.D.

4шт.

8

J905401

PLUG

PLUG - expansion, 35 mm O.D.

4шт.

9

J920706

PLUG

PLUG - expansion, 22 mm O.D.

1шт.

9a

J929561

FLANGE BOLT,Hex, M10 x 1.5 x 16mm

BOLT - hex flange, special, 10 - 1.5 x 16 mm, located at single boss above oil fill tube on left-hand side of engine

1шт.

10

A77530

PLUG

PLUG - expansion, 30 mm O.D., not used in this application

2шт.

11

41-3044

PLUG,Exp, 2 3/4"

PLUG, Exp, 2 3/4"

1шт.

11a

J926048

O-RING,0.07" Thk x 2.614" ID, -38, Cl 5, 75 Duro

O-RING - sealing, 66 mm ID

1шт.

12

J901846

PIN,12.01mm OD x 24mm L

PIN - dowel

4шт.

13

J906619

PLUG,1/8" - 27

PLUG - hex, 1/8 inch PT

6шт.

14

A77429

PLUG

PLUG - hex socket, 1/2 inch PT

4шт.

15

A77505

PLUG

PLUG - hex socket, 3/4 inch PT

2шт.

16

A77533

PLUG

PLUG - hex socket, 1 inch PT

1шт.

17

J928031

NOZZLE,8.5mm OD x 30mm L

NOZZLE - piston cooling

12шт.

18

J900257

PIN,10.01mm OD x 16mm L

PIN - dowel, 16 mm long

2шт.

19

217-103

COCK, DRAIN

VALVE - 1/4 inch PT, coolant

1шт.

20

J903744

PIPE FITTING,22.42 mm ID x 28 mm OD x 90.2, 64 mm L

TUBE - turbocharger oil drain, not used in this application, see connecting parts on Figure 2-18

1шт.

21

J920762

ELBOW

HOSE - 79 mm (3-1/8 inch)

1шт.

22

J918521

HOSE CLAMP,59mm - 83mm

CLAMP - adj, 1-13/16 - 2-3/4 inch dia.

1шт.

23

87676099

PLASTIC-RUBBER TUBE,12 mm OD x 787.5 mm L

(Replaces ref 23 p/n J279239 and ref 24 p/n A77645)

1шт.

23

J279239

TUBE

TUBE - oil dipstick, assembled on Ref. 24

1шт.

24

A77645

TUBE

TUBE - oil dipstick, at block

1шт.

25

J915026

DIPSTICK

DIPSTICK - oil, engine

1шт.

26

J916288

CLAMP

BRACE - tube support, retains dipstick tube to exhaust manifold

1шт.

27

845-8016

BOLT,Hvy Hex, M8 x 16mm, Cl 8.8

BOLT - heavy hex flange, 8 - 1.25 x 16 mm

1шт.

28

825-1408

NUT,M8, Cl 8

Nut, , Retains dipstick tube to dipstick tube brace M8, Cl 8

1шт.

29

845-10020

BOLT - heavy hex flange, 10 - 1.50 x 20 mm, retains dipstick tube brace to front boss on top of the exhaust manifold

1шт.

30

J905401

PLUG

PLUG - expansion, 35 mm O.D., oil fill hole

1шт.

31

1546461C2

SWITCH

SWITCH - oil pressure, 10 psi, installed in No. 2 oil port on the injection pump side of the engine

1шт.

32

214-1308

HOSE CLAMP,#8, 1/2", Spring

CLAMP, HOSE, , Retains dipstick tube to dipstick tube brace #8, 1/2", Spring

1шт.

196804A1

KIT

KIT - engine block heater, Includes: Ref. 33 - 35

1шт.

33

196466A1

ELECTRIC CABLE

CABLE - engine block heater

1шт.

34

NSS

NOT SOLD SEPARAT

ELEMENT - heater, 120 volt, 1000 watt, engine block

1шт.

35

J910517

O-RING

O-RING - heater sealing, engine block

1шт.

Выбрано товаров: 0