Запчасти Case 9050 (9-08) - TURNTABLE GUARDS (09) - CHASSIS

Схема запчастей Case 9050 - (9-08) - TURNTABLE GUARDS (09) - CHASSIS
FIT
1:1
100%

Артикул

Название

Примечание

Количество

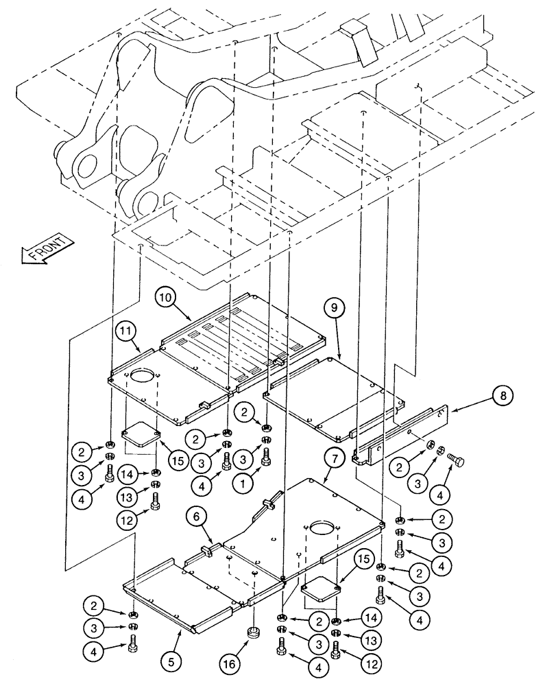
1

627-12020

BOLT,Hex, M12 x 1.75 x 20mm, Cl 10.9, Full Thd

, Serial Range: -DAC0500101

8шт.

1

158919A1

CAPTIVE WASHER SCREW,Hex Wshr Hd, M12 x 1.75 x 35mm, Cl 10.9, Spcl

special hex, with washer, 12 - 1.75 x 35 mm, Start Serial: DAC0500101

8шт.

2

896-11012

WASHER,13.5mm ID x 24mm OD x 3mm Thk

, Serial Range: -DAC0500101

37шт.

3

892-11012

LOCK WASHER,M12

, Serial Range: -DAC0500101

37шт.

4

627-12030

BOLT,Hex, M12 x 1.75 x 30mm, Cl 10.9, Full Thd

Full Thd, Serial Range: -DAC0500101

29шт.

4

158919A1

CAPTIVE WASHER SCREW,Hex Wshr Hd, M12 x 1.75 x 35mm, Cl 10.9, Spcl

special hex, with washer, 12 - 1.75 x 35 mm, Start Serial: DAC0500101

29шт.

5

151225A1

COVER

turntable left-hand front, Serial Range: -DAC0500101

1шт.

158788A1

COVER

turntable left-hand front, Start Serial: DAC0500101

1шт.

6

151075A1

COVER

turntable left-hand center, Serial Range: -DAC0500101

1шт.

158789A1

COVER

turntable left-hand center, Start Serial: DAC0500101

1шт.

7

151079A1

COVER

turntable left-hand rear, Serial Range: -DAC0500101

1шт.

7

158790A1

COVER

turntable left-hand rear, Start Serial: DAC0500101

1шт.

8

151082A1

COVER

turntable left-hand side

1шт.

9

151087A1

COVER

turntable rear center

1шт.

10

151317A1

COVER

turntable right-hand rear

1шт.

11

151089A1

COVER

turntable right-hand front

1шт.

12

627-10020

BOLT,Hex, M10 x 1.5 x 20mm, Cl 10.9, Full Thd

4шт.

13

892-11010

LOCK WASHER,M10

4шт.

14

151977A1

WASHER

flat, special, 10 mm

4шт.

15

150761A1

COWL

COVER access turntable

2шт.

16

151042A1

GROMMET

rubber

2шт.

Выбрано товаров: 0