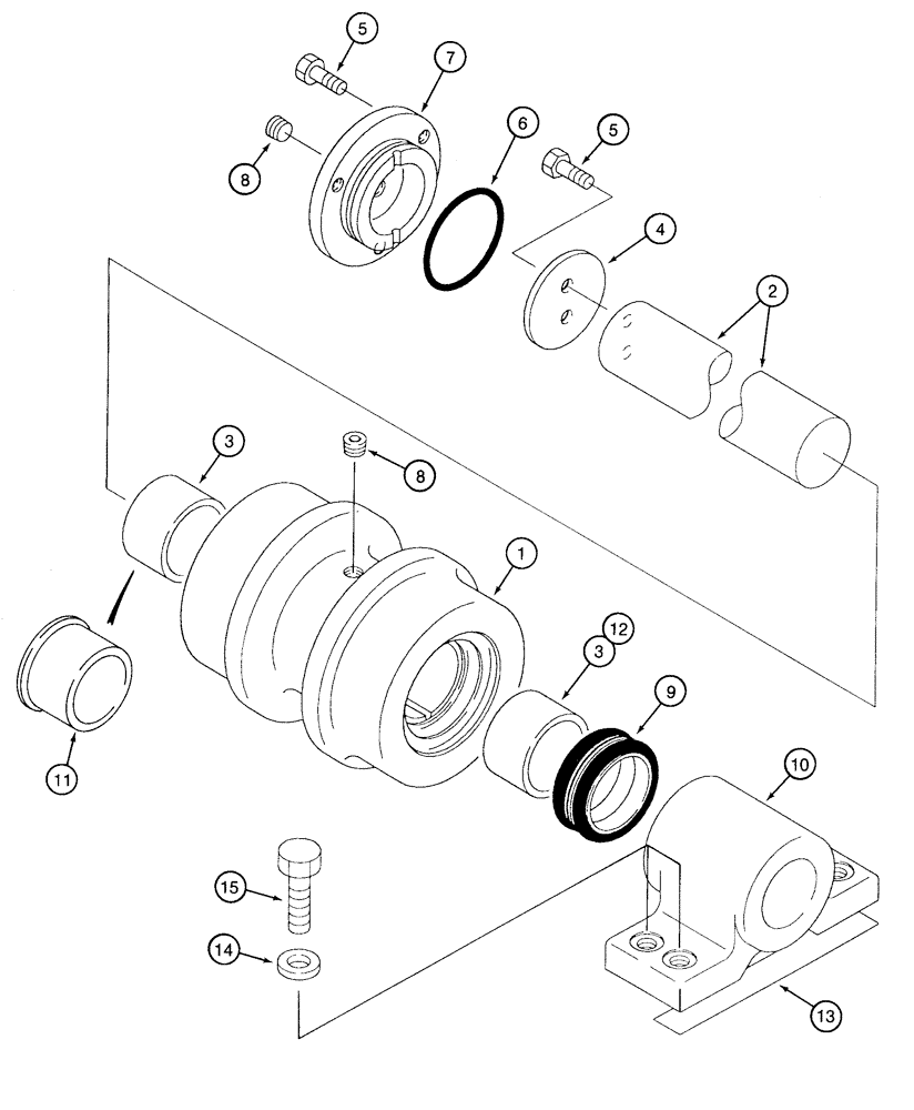
Запчасти Case 9050 (5-10) - TRACK CARRIER ROLLER, STANDARD MODELS (ALL BUT TIMBER KING) AND MANUFACTURED BY SUMITOMO (11) - TRACKS/STEERING

Схема запчастей Case 9050 - (5-10) - TRACK CARRIER ROLLER, STANDARD MODELS (ALL BUT TIMBER KING) AND MANUFACTURED BY SUMITOMO (11) - TRACKS/STEERING
FIT
1:1
100%

Артикул

Название

Примечание

Количество

152140A1

ROLLER ASSY.

carrier early 9050 Excavator production, manufactured by Sumitomo, no longer available, order 158745A1, Includes: Ref. 1 - 12

4шт.

158745A1

ROLLER ASSY.

carrier final 9050 Excavator production, manufactured by Sumitomo, Includes: Ref. 1 - 12

4шт.

See Figure 5-11A for carrier rollers manufactured by Intertrac.

1шт.

1

NSS

NOT SOLD SEPARAT

ROLLER carrier track

1шт.

2

152101A1

WHEEL SHAFT

carrier roller

1шт.

3

152105A1

BUSHING

nylon 60 x 65 x 40 mm long 152140A1 roller assembly only

2шт.

4

152147A1

PLATE, THRUST

RETAINER shart

1шт.

5

628-10025

BOLT,Hex, M10 x 1.5 x 25mm, Cl 10.9, Full Thd

5шт.

6

154679A1

O-RING

cover

1шт.

7

152143A1

COVER

end carrier roller

1шт.

8

150821A1

PLUG

port carrier roller

2шт.

9

150737A1

SEAL

face, includes two seals and two rings carrier roller

1шт.

10

152103A1

BRACKET

mounting carrier roller

1шт.

11

158747A1

BUSHING

flanged, fabricated 60 x 64 x 45 mm long 158745A1 roller assembly only

1шт.

12

158748A1

BUSHING

fabricated 60 x 64 x 42 mm long 158745A1 roller assembly only

1шт.

13

150003A1

HUB

SHIM bracket height 0.03 inch (0.8 mm) thick

1шт.

14

896-12016

WASHER,17.5mm ID x 30mm OD x 4mm Thk

Bracket mounting

16шт.

15

828-16055

BOLT,Hex, M16 x 2 x 55mm, Cl 10.9

16шт.

Выбрано товаров: 18