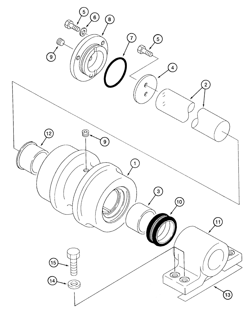
Запчасти Case 9050 (5-11A) - TRACK CARRIER ROLLER, FOR STANDARD MODELS (ALL BUT TIMBER KING) AND MANUFACTURED BY INTERTRAC (11) - TRACKS/STEERING

Схема запчастей Case 9050 - (5-11A) - TRACK CARRIER ROLLER, FOR STANDARD MODELS (ALL BUT TIMBER KING) AND MANUFACTURED BY INTERTRAC (11) - TRACKS/STEERING
FIT
1:1
100%

Артикул

Название

Примечание

Количество

170559A1

ROLLER ASSY.

carrier manufactured by Intertrac, optional service replacement for 152140A1 or 158745A1, Includes: Ref. 1 - 12

4шт.

See Figure 5-10 for carrier rollers manufactured by Sumitomo.

1шт.

1

NSS

NOT SOLD SEPARAT

ROLLER carrier track

1шт.

2

NSS

NOT SOLD SEPARAT

SHAFT carrier roller

1шт.

3

NSS

NOT SOLD SEPARAT

BUSHING mounting bracket end

1шт.

4

NSS

NOT SOLD SEPARAT

RETAINER shaft

1шт.

5

170562A1

BOLT

hex, special

5шт.

6

170570A1

LOCK WASHER

special

3шт.

7

170569A1

O-RING

cover

1шт.

8

NSS

NOT SOLD SEPARAT

COVER end

1шт.

9

170560A1

PLUG

port

2шт.

10

170564A1

SEAL

face, includes two seals and two rings

1шт.

11

NSS

NOT SOLD SEPARAT

BRACKET mounting

1шт.

12

NSS

NOT SOLD SEPARAT

BUSHING flanged, cover end

1шт.

13

150003A1

HUB

SHIM bracket height 0.03 inch (0.8 mm) thick

1шт.

14

150814A1

WASHER,17mm ID x 32mm OD x 4.5mm Thk

flat, special bracket mounting

16шт.

15

828-16055

BOLT,Hex, M16 x 2 x 55mm, Cl 10.9

16шт.

Выбрано товаров: 17