Запчасти Case 9050 (4-10) - BATTERIES AND MOUNTING (04) - ELECTRICAL SYSTEMS

Схема запчастей Case 9050 - (4-10) - BATTERIES AND MOUNTING (04) - ELECTRICAL SYSTEMS
FIT
1:1
100%

Артикул

Название

Примечание

Количество

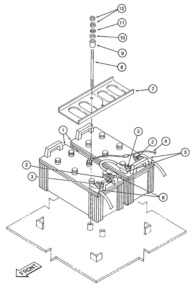
1

150803A1

BATTERY, DRY

BATTERY DRY wet charged without terminals or low fluid level sensor, service replacement for 150808A1 or 150801A1 battery assemblies, order clamps and sensor as required

2шт.

2

158403A1

TERMINAL CONNECTOR

CLAMP was 150450A1

1шт.

3

150455A1

TERMINAL CONNECTOR

terminal battery

1шт.

4

150126A1

SENSOR

low electrolyte

1шт.

5

150360A1

CAP

terminal

2шт.

6

150364A1

CAP

terminal

2шт.

7

150810A1

SPECIAL RING

battery retainer

1шт.

8

150789A1

STUD,M10 x 280mm

STUD special 10 - 1.5 x 280 mm battery holder

2шт.

9

150816A1

SPACER

battery stud

2шт.

10

895-11010

WASHER,11mm ID x 20mm OD x 2mm Thk

flat 11 x 21 x 2 mm

2шт.

11

892-11010

LOCK WASHER,M10

2шт.

12

829-1310

NUT,M10, Cl 10

Hex

4шт.

Выбрано товаров: 0