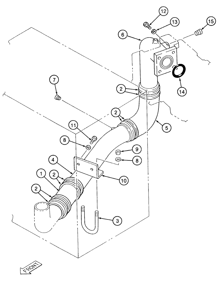
Запчасти Case 9050 (8-06) - BASIC HYDRAULIC CIRCUIT, RESERVOIR TO PUMP (08) - HYDRAULICS

Схема запчастей Case 9050 - (8-06) - BASIC HYDRAULIC CIRCUIT, RESERVOIR TO PUMP (08) - HYDRAULICS
FIT
1:1
100%

Артикул

Название

Примечание

Количество

1

152375A1

HOSE,88.90 mm ID x 200.00 mm

At reservoir

1шт.

2

150905A1

CLAMP

hose

8шт.

3

152074A1

U-BOLT,M12 x 104mm W x 120mm L

BOLT "U" special

1шт.

4

153261A1

TUBE,89.1 mm OD, 240, 223 mm Length

suction center, with tapped boss

1шт.

5

152970A1

HOSE

suction pump end

1шт.

6

153257A1

TUBE,80 mm ID, 89.1 mm OD, 243.5, 151.5 mm Length

suction line at pump

1шт.

7

151035A1

PLUG

pipe center suction tube

1шт.

8

150988A1

WASHER

flat, special 12 mm

4шт.

9

829-1412

NUT,M12, Cl 10.9

2шт.

10

153189A1

BRACKET

suction line support

1шт.

11

626-12030

BOLT,Hex, M12 x 1.75 x 30mm, Cl 10.9, Full Thd

hex, full threads 12 - 1.75 x 30 mm, class 10.9

2шт.

12

627-16035

BOLT,Hex, M16 x 2 x 35mm, Cl 10.9, Full Thd

4шт.

13

892-11016

LOCK WASHER,16.4mm ID x 27.4mm OD x 5mm Thk

4шт.

14

152185A1

O-RING,134.40mm ID x 3.10mm W

at pump

1шт.

15

151039A1

PLUG

suction tube, pump end

1шт.

Выбрано товаров: 15