Качественные детали и логистика
Оригинальные и аналоговые запчасти с доставкой по России, Казахстану и Беларуси
©2022 PartSell ООО "Система" ИНН 2463123282 ОГРН 1212400004838
Центральный офис: г. Красноярск, Академика Киренского, д.87, пом.4
Телефон: 8 (800) 777-65-74 Email: zakaz@partsell.ru
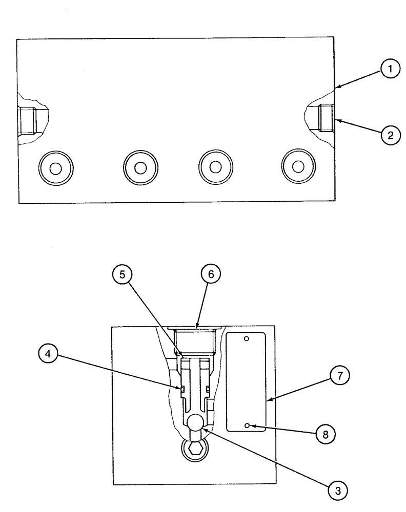
(8-52) - 152744A1 SHUTTLE VALVE, SINGLE PEDAL TRAVEL
№
Артикул
Название
Примечание
Количество
152744A1
SHUT-OFF VALVE
shuttle, Includes: Ref. 1 - 8
1шт.
1
NSS
NOT SOLD SEPARAT
BODY valve
2
151022A1
PLUG
hex socket, special
2шт.
3
155976A1
BALL
steel
4шт.
4
154458A1
O-RING
seal shuttle
5
155565A1
SEAT
SHUTTLE valve
6
151030A1
port special
7
PLATE identification
8
SCREW plate retaining
Выбрано товаров: 0