Запчасти Case 9050B (2-04) - RADIATOR AND HOSES (02) - ENGINE

Схема запчастей Case 9050B - (2-04) - RADIATOR AND HOSES (02) - ENGINE
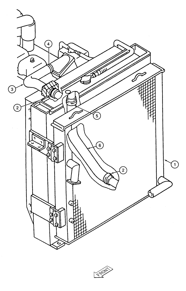
1
3
2
4
5
6
2
FIT
1:1
100%

Артикул

Название

Примечание

Количество

1

REF

INSTRUCTION

RADIATOR ASSEMBLY - engine and transmission oil cooling parts list figure 2-10

1шт.

2

153055A1

CLAMP

wire-type

2шт.

3

162469A1

RADIATOR HOSE,60.00 mm ID, 65.00 mm ID x 270.00 mm

Upper 60.00 mm ID, 65.00 mm ID x 270.00 mm

1шт.

4

157727A1

CLAMP

wire-type

1шт.

5

157718A1

CLAMP

wire-type

1шт.

6

162471A1

RADIATOR HOSE

radiator lower

1шт.

Выбрано товаров: 6