Запчасти Case 9050B (8-148) - SOLENOID VALVE (08) - HYDRAULICS

Схема запчастей Case 9050B - (8-148) - SOLENOID VALVE (08) - HYDRAULICS
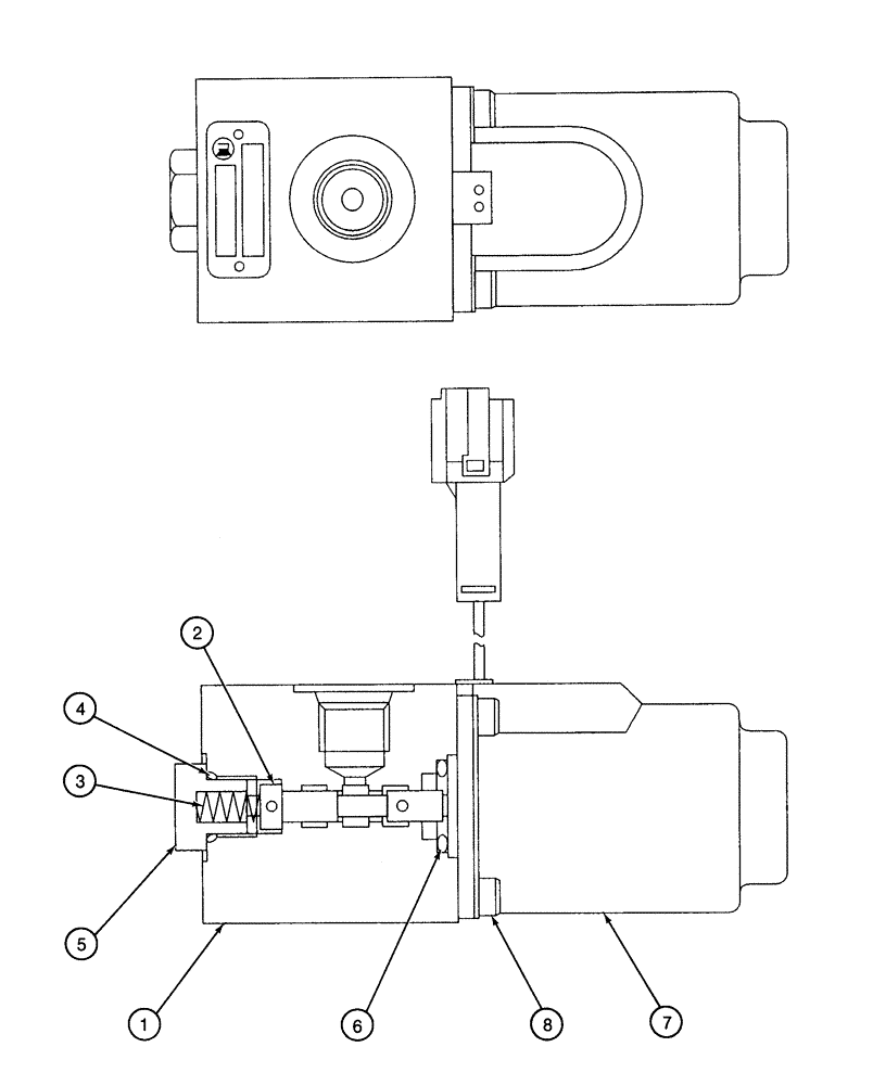
5
2
8
4
3
7
1
6
FIT
1:1
100%

Артикул

Название

Примечание

Количество

162538A1

VALVE

ASSEMBLY - solenoid, Includes: Ref. 1 - 8

1шт.

1

NSS

NOT SOLD SEPARAT

BODY - valve

1шт.

2

NSS

NOT SOLD SEPARAT

SPOOL - valve

1шт.

3

156048A1

SPRING

valve

1шт.

4

154463A1

O-RING

plug

1шт.

5

155456A1

PLUG

port

1шт.

6

154475A1

O-RING

solenoid

1шт.

7

162724A1

SOLENOID

valve

1шт.

8

862-4010

HEX SOC SCREW,M4 x 10mm, Cl 12.9

SCREW - hex socket, 4 - 0.7 x 10 mm, class 12.9

8шт.

Выбрано товаров: 9