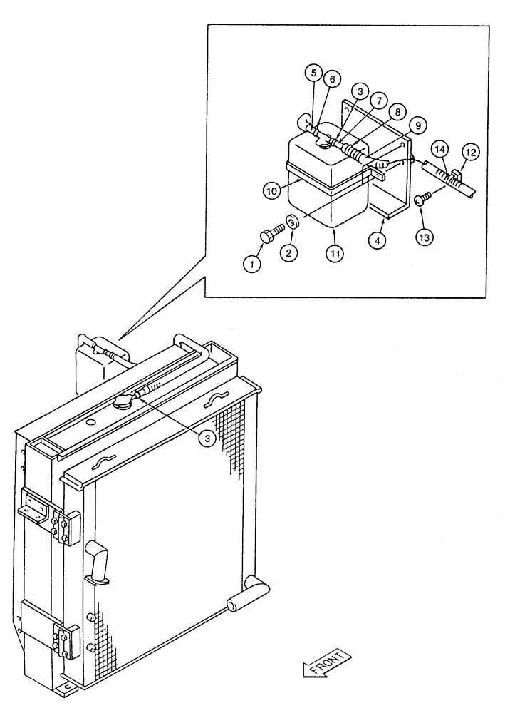
Запчасти Case 9050B (2-08) - RADIATOR OVERFLOW RESERVOIR AND HOSES (02) - ENGINE

Схема запчастей Case 9050B - (2-08) - RADIATOR OVERFLOW RESERVOIR AND HOSES (02) - ENGINE
12
2
9
10
14
8
4
3
13
5
1
3
11
6
7
FIT
1:1
100%

Артикул

Название

Примечание

Количество

1

627-10020

BOLT,Hex, M10 x 1.5 x 20mm, Cl 10.9, Full Thd

- hex, full threads, 10 - 1.5 x 20 mm, class 10.9

10шт.

2

150409A1

WASHER

flat, special 10.5 x 21 x 3.2 mm

10шт.

3

153042A1

CLAMP

adjustable

2шт.

4

162515A1

BRACKET

reservoir mounting

1шт.

5

157489A1

HOSE

43-1/3 inch (1100 mm) long reservoir overflow

1шт.

6

153040A1

COLLAR

wire type

1шт.

7

150487A1

HOSE

47-1/4 inch (1200 mm) long, Serial Range: radiator-reservoir

1шт.

8

150067A1

MOUNTING CLIP

tie

1шт.

9

150401A1

PLASTIC-RUBBER TUBE,13 mm ID, 17.5 mm OD, 1000 mm Length

corrugated 39-3/8 inch (1000 mm) long

1шт.

10

162516A1

HOLDER

overflow reservoir

1шт.

11

160626A1

RESERVOIR, COOLANT E

ASSEMBLY - radiator overflow

1шт.

161740A1

SWITCH

sender, coolant level not shown

1шт.

12

150860A1

COLLAR

BRACKET - tie strap support

1шт.

13

840-168

SCREW,Pan, M6 x 1 x 8mm, Cl 4.8

- machine, pan Phillips, 6 - 1.0 x 8 mm

1шт.

14

150071A1

MOUNTING CLIP

STRAP - tie

1шт.

Выбрано товаров: 15