Запчасти Case 9050B (9-042) - CAB AIR CONDITIONER (09) - CHASSIS

Схема запчастей Case 9050B - (9-042) - CAB AIR CONDITIONER (09) - CHASSIS
16
1
13
14
12
7
6
3
13
9
8
12
6
10
5
10
4
11
17
15
2
FIT
1:1
100%

Артикул

Название

Примечание

Количество

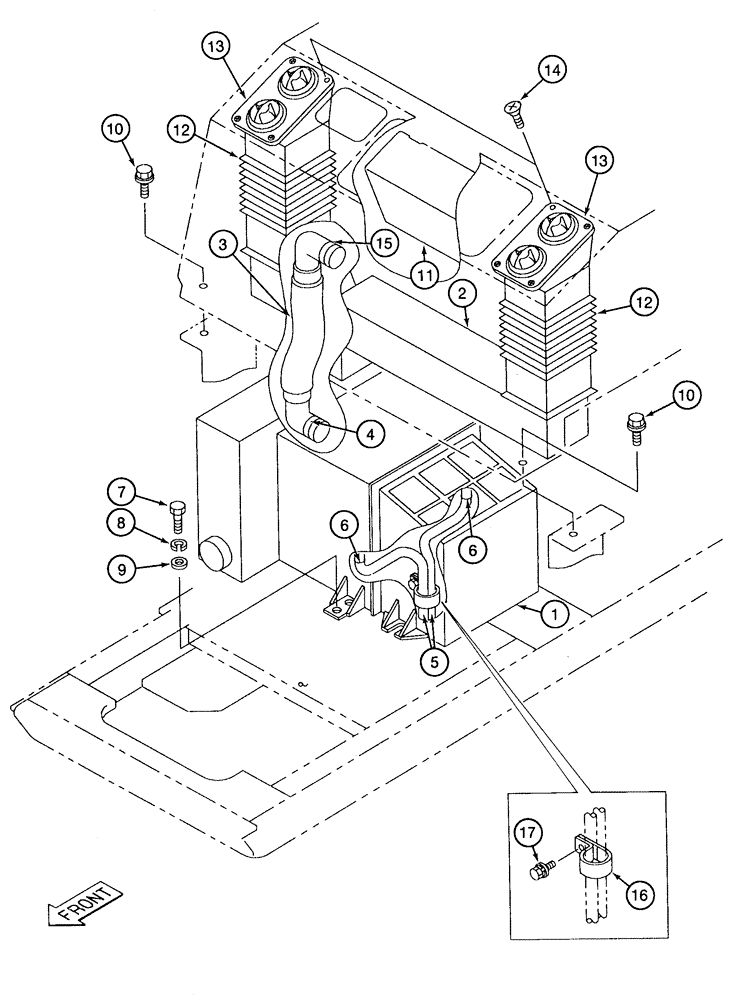
1

162048A1

AIR CONDITIONER

ASSEMBLY

1шт.

2

159603A1

AIR DUCT

air conditioner

1шт.

3

159606A1

AIR DUCT

air 27-9/16 inch (700 mm) long

1шт.

4

159604A1

MOUNTING CLIP

CLAMP - band, special

1шт.

5

159617A1

HOSE,322.00 mm

- hot water 322.00 mm

2шт.

6

159622A1

MOUNTING CLIP

CLAMP - band, special heater hose

2шт.

7

627-10020

BOLT,Hex, M10 x 1.5 x 20mm, Cl 10.9, Full Thd

- hex, full threads, 10 - 1.5 x 20 mm, class 10.9, AC unit

5шт.

8

892-11010

LOCK WASHER,M10

13шт.

10

152718A1

BOLT,Spcl, Hex Wshr, M12 x 25mm, Cl 10.9

- special

2шт.

11

159621A1

CAB STORAGE BOX

BOX - cooler

1шт.

NSS

NOT SOLD SEPARAT

CONSOLE ASSEMBLY - outlet, air conditioner, Includes: Ref. 12 - 15

1шт.

12

159605A1

AIR DUCT

outlet, air conditioner

2шт.

13

157289A1

GRILLE ASSY

air conditioner

2шт.

14

843-1412

SCREW,Flat , M4 x 12mm, Cl 4.8

machine, flat Phillips 4 - 0.7 x 12 mm

8шт.

15

159604A1

MOUNTING CLIP

CLAMP - band, special

1шт.

16

159149A1

COLLAR

P-type heater hoses

2шт.

17

159602A1

BOLT,Sems, Hex, M6 x 16mm

special clamp

2шт.

18

163165A1

SET OF PARTS

KIT - air conditioning not shown, art and parts information to be provided at a later date

1шт.

9

895-11010

WASHER,11mm ID x 20mm OD x 2mm Thk

- flat, 11 x 21 x 2 mm

14шт.

Выбрано товаров: 19