Запчасти Case 9050B (5-10) - TRACK CARRIER ROLLER (11) - TRACKS/STEERING

Схема запчастей Case 9050B - (5-10) - TRACK CARRIER ROLLER (11) - TRACKS/STEERING
9
5
4
13
8
1
10
2
3
6
11
8
3
7
12
5
FIT
1:1
100%

Артикул

Название

Примечание

Количество

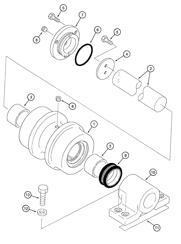
158745A1

ROLLER ASSY.

carrier track, Includes: Ref. 1 - 10

4шт.

1

158746A1

SHIFTER ROLLER

carrier track

1шт.

2

152101A1

WHEEL SHAFT

carrier roller

1шт.

3

158747A1

BUSHING

fabricated

2шт.

4

152147A1

PLATE, THRUST

RETAINER - shaft

1шт.

5

628-10025

BOLT,Hex, M10 x 1.5 x 25mm, Cl 10.9, Full Thd

5шт.

6

154679A1

O-RING

carrier roller

1шт.

7

152143A1

COVER

end carrier roller

1шт.

8

150821A1

PLUG

special carrier roller

2шт.

9

150737A1

SEAL

face, includes two seals and two rings

1шт.

10

152103A1

BRACKET

mounting carrier roller

1шт.

11

150003A1

HUB

SHIM - bracket height 0.03 inch (0.8 mm) thick

1шт.

12

150991A1

WASHER

flat, special 16 mm bracket mounting

16шт.

13

828-16055

BOLT,Hex, M16 x 2 x 55mm, Cl 10.9

16шт.

Выбрано товаров: 14