Запчасти Case 9050B (8-154) - PEDAL OPERATED REMOTE CONTROL VALVE, SINGLE SECTION (08) - HYDRAULICS

Схема запчастей Case 9050B - (8-154) - PEDAL OPERATED REMOTE CONTROL VALVE, SINGLE SECTION (08) - HYDRAULICS
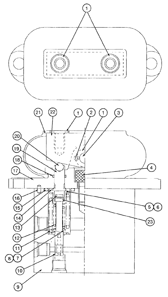
8
14
18
1
7
2
10
15
3
22
4
1
12
11
17
19
13
5
16
1
20
6
23
9
21
FIT
1:1
100%

Артикул

Название

Примечание

Количество

162079A1

CONTROL BLOCK

ASSEMBLY - remote control, Includes: Ref. 1 - 23

1шт.

1

156177A1

WASHER

special

4шт.

2

155567A1

PIN

special

2шт.

3

155566A1

COTTER PIN

pivot

1шт.

4

861-12020

HEX SOC SCREW,M12 x 20mm, Cl 12.9

hex socket, 12 - 1.75 x 20 mm, class 12.9

1шт.

5

155571A1

SHIM

KIT

1шт.

6

155570A1

SHIM

KIT

1шт.

7

156178A1

WASHER

spring seat

2шт.

8

155569A1

SHIM

KIT - shim, spring load

1шт.

161036A1

VALVE

HOUSING ASSEMBLY - valve, with spool, Includes: Ref. 9 - 10

1шт.

9

NSS

NOT SOLD SEPARAT

HOUSING - valve

1шт.

10

NSS

NOT SOLD SEPARAT

SPOOL - valve

2шт.

11

160946A1

SPRING

outer, shuttle return

2шт.

12

160945A1

SPRING

inner, shuttle return

2шт.

13

156179A1

FLANGE BOLT

special, flanged

2шт.

14

160848A1

SLEEVE

valve

2шт.

15

154502A1

O-RING

cover

2шт.

16

160856A1

PIN, ROLL

2шт.

17

156280A1

COVER

valve

1шт.

18

154462A1

O-RING

shuttle

2шт.

155754A1

VALVE

SHUTTLE ASSEMBLY, Includes: Ref. 19 - 20

2шт.

19

NSS

NOT SOLD SEPARAT

SHUTTLE - valve

1шт.

20

NSS

NOT SOLD SEPARAT

BALL - steel

1шт.

21

155254A1

BELLOWS

COVER - dust

1шт.

22

155568A1

VALVE

PEDAL - valve

1шт.

23

160849A1

COLLAR

bolt

2шт.

Выбрано товаров: 0