Запчасти Case 9050B (9-034) - UPPER STRUCTURE, LEFT-HAND SIDE DOORS AND RELATED PARTS, P.I.N. EAC0501196 AND AFTER (09) - CHASSIS/ATTACHMENTS

Схема запчастей Case 9050B - (9-034) - UPPER STRUCTURE, LEFT-HAND SIDE DOORS AND RELATED PARTS, P.I.N. EAC0501196 AND AFTER (09) - CHASSIS/ATTACHMENTS
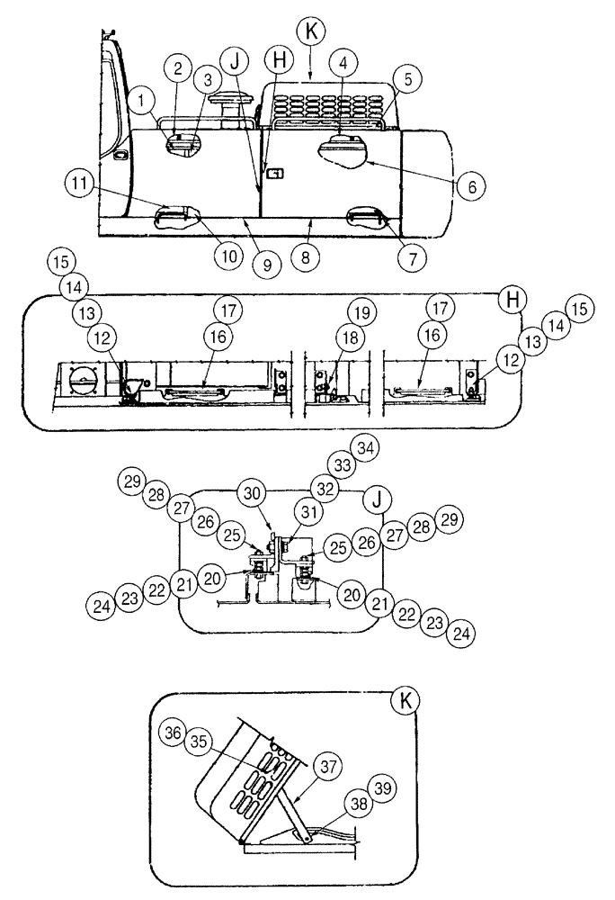
1
36
30
15
16
2
6
10
29
20
25
28
27
16
13
8
37
26
14
34
22
9
27
15
13
17
3
23
22
12
28
21
38
5
4
35
14
7
18
32
23
33
20
24
24
39
31
17
11
12
21
26
19
25
29
FIT
1:1
100%

Артикул

Название

Примечание

Количество

1

171255A1

NOISE PROTECTION

INSULATION - acoustic

1шт.

2

171258A1

NOISE PROTECTION

INSULATION - acoustic

1шт.

3

171259A1

NOISE PROTECTION

INSULATION - acoustic

1шт.

4

173801A1

INSULATOR

acoustic

1шт.

5

173150A1

FILLING STRIP

weather, rubber

1шт.

6

173803A1

INSULATOR

acoustic

1шт.

7

173802A1

INSULATOR

acoustic

1шт.

8

173800A1

DOOR

left-hand, rear

1шт.

9

171257A1

DOOR

left-hand, front

1шт.

10

171251A1

NOISE PROTECTION

INSULATION - acoustic

1шт.

11

171254A1

NOISE PROTECTION

INSULATION - acoustic

1шт.

12

627-12040

BOLT,Hex, M12 x 1.75 x 40mm, Cl 10.9, Full Thd

8шт.

13

892-11012

LOCK WASHER,M12

8шт.

14

895-11012

WASHER,13.5mm ID x 24mm OD x 2.5mm Thk

Flat

8шт.

15

829-1412

NUT,M12, Cl 10.9

8шт.

16

159101A1

STAY

HOLDER - door

2шт.

17

153181A1

COTTER PIN

CLIP - hairpin

2шт.

18

171062A1

SUPPORT

upper structure

1шт.

19

162278A1

BOLT

flange head, special

2шт.

20

159099A1

STOP

door

2шт.

21

159095A1

BRACKET

door

2шт.

22

627-6020

BOLT,Hex, M6 x 1 x 20mm, Cl 10.9, Full Thd

4шт.

23

892-11006

LOCK WASHER,M6

4шт.

24

895-11006

WASHER,6.6mm ID x 12mm OD x 1.6mm Thk

4шт.

25

159099A1

STOP

door

2шт.

26

159095A1

BRACKET

door

2шт.

27

627-6020

BOLT,Hex, M6 x 1 x 20mm, Cl 10.9, Full Thd

4шт.

28

892-11006

LOCK WASHER,M6

4шт.

29

895-11006

WASHER,6.6mm ID x 12mm OD x 1.6mm Thk

4шт.

30

171552A1

BRACKET

upper structure

1шт.

31

171237A1

BRACKET

upper structure

2шт.

33

892-11008

LOCK WASHER,8mm ID

4шт.

35

170073A1

WASHER

special

2шт.

36

173467A1

PIN, SPLIT (COTTER)

PIN, COTTER

1шт.

37

173637A1

STAY

BRACE - upper structure

1шт.

38

171239A1

WASHER

SHIM - plate

2шт.

39

173467A1

PIN, SPLIT (COTTER)

PIN, COTTER

1шт.

32

627-8025

BOLT,Hex, M8 x 1.25 x 25mm, Cl 10.9, Full Thd

4шт.

34

895-11008

WASHER,9mm ID x 16mm OD x 1.6mm Thk

4шт.

Выбрано товаров: 39