Запчасти Case 9050B (3-002) - FUEL TANK (03) - FUEL SYSTEM

Схема запчастей Case 9050B - (3-002) - FUEL TANK (03) - FUEL SYSTEM
15
18
4
22
10
20
11
21
12
23
19
3
16
14
13
24
2
8
9
21
17
5
7
1
6
FIT
1:1
100%

Артикул

Название

Примечание

Количество

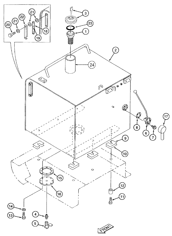
1

150146A1

FILTER

fuel tank

1шт.

2

173051A1

FUEL TANK

prior to P.I.N. EAC0501196, Serial Range: -EAC0501196

1шт.

2

173769A1

FUEL TANK

P.I.N EAC0501196 and after, Start Serial: EAC0501196

1шт.

3

150492A1

LOCKABLE FUEL CAP

fuel tank, with locking key

1шт.

4

150847A1

HYD CONNECTOR

CONNECTOR - straight, fuel tank to drain valve

1шт.

5

158923A1

DRAIN VALVE

fuel tank

1шт.

6

163257A1

SENSOR

SENDER - fuel level

1шт.

7

151688A1

SCREW,Phil Pan Hd, M5 x 12mm, W/ Wshr

pan head

5шт.

8

152591A1

GASKET,2mm Thk

fuel level sender

1шт.

9

150166A1

SHIM

0.8 mm (1/32 inch) thick

1шт.

10

150479A1

SHIM

2.0 mm (5/64 inch) thick

1шт.

11

828-16070

BOLT,Hex, M16 x 2 x 70mm, Cl 10.9

6шт.

12

162301A1

SPACER

special

6шт.

13

627-10025

BOLT,Hex, M10 x 1.5 x 25mm, Cl 10.9, Full Thd

8шт.

14

892-11010

LOCK WASHER,M10

8шт.

15

151322A1

GASKET,3mm Thk

cover

1шт.

16

170067A1

COVER

fuel tank bottom

1шт.

17

159698A1

COVER

special

1шт.

159815A1

GAUGE

ASSEMBLY - liquid level, fuel tank, Includes: Ref. 18-22

1шт.

18

NSS

NOT SOLD SEPARAT

BODY - gauge

1шт.

19

NSS

NOT SOLD SEPARAT

FLOAT - indicator, red

1шт.

20

159492A1

BOLT

special

2шт.

21

159493A1

SEALING WASHER

SEAL WASHER

6шт.

22

NSS

NOT SOLD SEPARAT

COVER - indicator

1шт.

23

163804A1

GASKET

special

1шт.

24

150605A1

FUEL TUBE

TUBE - fuel

1шт.

Выбрано товаров: 26