Запчасти Case 9050B (4-024) - AIR CONDITIONER WIRING AT ENGINE (04) - ELECTRICAL SYSTEMS

Схема запчастей Case 9050B - (4-024) - AIR CONDITIONER WIRING AT ENGINE (04) - ELECTRICAL SYSTEMS
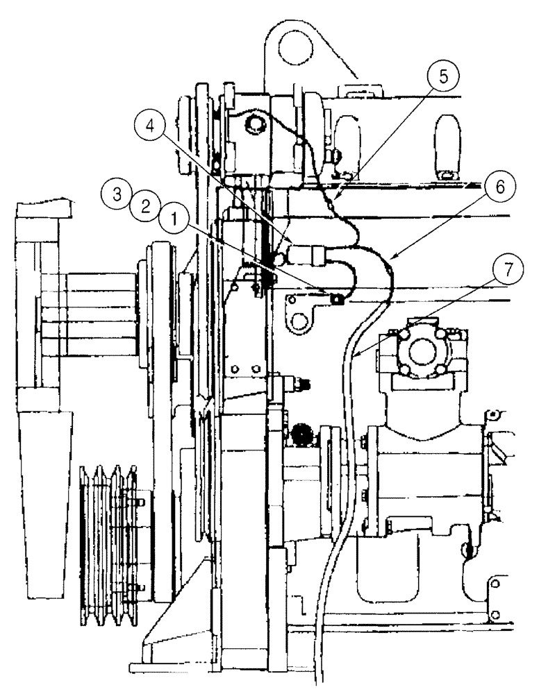
1
5
2
3
7
6
4
FIT
1:1
100%

Артикул

Название

Примечание

Количество

1

627-10020

BOLT,Hex, M10 x 1.5 x 20mm, Cl 10.9, Full Thd

1шт.

3

893-11010

LOCK WASHER,Ext Tooth, M10

1шт.

4

171395A1

HARNESS

ASSEMBLY - air conditioning, engine, Serial Range: EAC0501122-EAC0501165

1шт.

4

171554A1

HARNESS

air conditioning, engine, Start Serial: EAC0501166

1шт.

5

171375A1

CONNECTOR, ELEC

CONNECTOR BULLET - terminal

1шт.

6

171376A1

CONNECTOR, ELEC

CONNECTOR BULLET - connector

1шт.

7

170308A1

BAND

STRAP - tie

1шт.

8

171540A1

HARNESS

air conditioning, inside cab, not shown, Start Serial: EAC0501166

1шт.

9

245487C1

ELEC CONNECTOR,Male, 4 Pin

CONNECTOR - 4-way, not shown

1шт.

10

225120C1

TERMINAL CONNECTOR,Tin, 0.8mm

electrical, not shown

1шт.

11

225124C1

SEAL,2 - 2.9 mm2

electrical, not shown

1шт.

12

171541A1

FUSE

20 amp, air conditioning, not shown

1шт.

13

171539A1

HARNESS

wire, extension, cab riser, Timber King models, not shown

1шт.

2

895-11010

WASHER,11mm ID x 20mm OD x 2mm Thk

1шт.

Выбрано товаров: 14