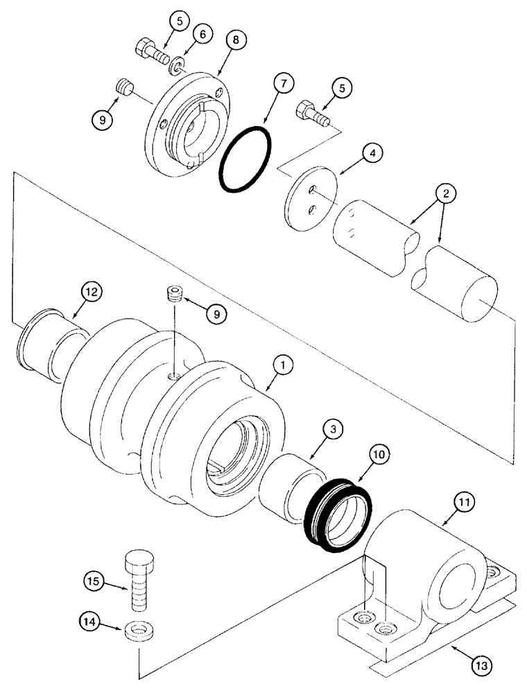
Запчасти Case 9050B (5-018) - TRACK CARRIER ROLLER, MODELS WITHOUT TIMBER KING (05) - STEERING

Схема запчастей Case 9050B - (5-018) - TRACK CARRIER ROLLER, MODELS WITHOUT TIMBER KING (05) - STEERING
6
10
15
2
9
4
11
5
14
12
3
13
5
8
1
9
7
FIT
1:1
100%

Артикул

Название

Примечание

Количество

170559A1

ROLLER ASSY.

carrier, Includes: Ref. 1-12

4шт.

1

NSS

NOT SOLD SEPARAT

ROLLER - carrier, track

1шт.

2

NSS

NOT SOLD SEPARAT

SHAFT - carrier roller

1шт.

3

NSS

NOT SOLD SEPARAT

BUSHING - mounting bracket end

1шт.

4

NSS

NOT SOLD SEPARAT

RETAINER - shaft

1шт.

5

170562A1

BOLT

hex, special

5шт.

6

170570A1

LOCK WASHER

special

3шт.

7

170569A1

O-RING

cover

1шт.

8

NSS

NOT SOLD SEPARAT

COVER - end

1шт.

9

170560A1

PLUG

port

2шт.

10

170564A1

SEAL

face, includes two seals and two rings

1шт.

11

NSS

NOT SOLD SEPARAT

BRACKET - mounting

1шт.

12

NSS

NOT SOLD SEPARAT

BUSHING - flanged, cover end

1шт.

13

150003A1

HUB

SHIM - bracket height, 0.8 mm (.03 inch) thick

1шт.

14

150814A1

WASHER,17mm ID x 32mm OD x 4.5mm Thk

flat, special, bracket mounting

16шт.

15

828-16055

BOLT,Hex, M16 x 2 x 55mm, Cl 10.9

16шт.

Выбрано товаров: 16