Запчасти Case 9050B (8-010) - AUXILIARY HYDRAULIC PUMP ASSEMBLY, TIMBER KING MODELS, P.I.N. EAC0531007 AND AFTER (08) - HYDRAULICS

Схема запчастей Case 9050B - (8-010) - AUXILIARY HYDRAULIC PUMP ASSEMBLY, TIMBER KING MODELS, P.I.N. EAC0531007 AND AFTER (08) - HYDRAULICS
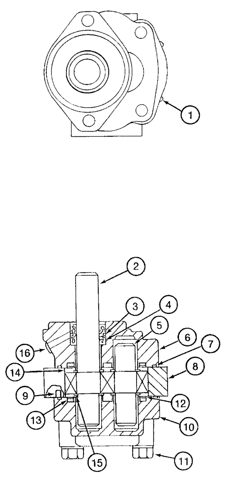
5
9
12
11
4
10
7
15
6
2
16
14
13
8
1
3
FIT
1:1
100%

Артикул

Название

Примечание

Количество

170755A1

PUMP

ASSEMBLY - auxillary hydraulic, Includes: Ref. 1 - 16

1шт.

1

NSS

NOT SOLD SEPARAT

SCREW - drive

2шт.

2

NSS

NOT SOLD SEPARAT

GEAR - drive

1шт.

3

170758A1

RING, SNAP

RING SNAP retaining

1шт.

4

170759A1

SEAL

shaft

2шт.

5

NSS

NOT SOLD SEPARAT

GEAR - idler

1шт.

6

NSS

NOT SOLD SEPARAT

COVER - flange end

1шт.

7

170762A1

O-RING

cover

2шт.

8

NSS

NOT SOLD SEPARAT

HOUSING - gear

1шт.

9

NSS

NOT SOLD SEPARAT

PIN - dowel

8шт.

10

NSS

NOT SOLD SEPARAT

COVER - port end

1шт.

11

NSS

NOT SOLD SEPARAT

BOLT - hex, cover mounting

4шт.

12

170767A1

BACK-UP RING

seal, cover

2шт.

13

170768A1

SEAL

seal, cover to gear housing

2шт.

14

NSS

NOT SOLD SEPARAT

PLATE - pressure

2шт.

15

170770A1

O-RING

gear shaft

4шт.

16

170771A1

PLUG

port

1шт.

Выбрано товаров: 0