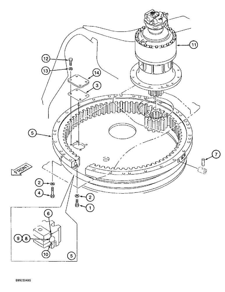
Запчасти Case 9050B (9-2) - TURNTABLE BEARING, TIMBER KING MODELS, P.I.N. DAC0531001 THRU DAC0531007 (09) - CHASSIS

Схема запчастей Case 9050B - (9-2) - TURNTABLE BEARING, TIMBER KING MODELS, P.I.N. DAC0531001 THRU DAC0531007 (09) - CHASSIS
13
5
7
11
3
1
8
5
14
2
6
10
9
2
12
4
FIT
1:1
100%

Артикул

Название

Примечание

Количество

1

828-24090

BOLT,Hex, M24 x 3 x 90mm, Cl 10.9

- hex, 24 - 3.0 x 90 mm, class 10.9

30шт.

2

150822A1

WASHER,25mm ID x 48mm OD x 6mm Thk

- flat, special

68шт.

3

151070A1

GASKET

- access cover

1шт.

4

828-24140

BOLT,Hex, M24 x 3 x 140mm, Cl 10.9

- hex, 24 - 3.0 x 140 mm, class 10.9

38шт.

5

163820A1

GEAR, RING

BEARING ASSEMBLY - turntable, Includes: Ref. 6 - 10

1шт.

6

162548A1

SEALING RING

RING - seal, upper

1шт.

7

162549A1

LINCH PIN

PIN - special, stopper

1шт.

8

162550A1

BEARING, BALL,41.27mm OD

BEARING - ball, turntable

93шт.

9

162551A1

SPACER

- ball bearing

93шт.

10

162552A1

SEALING RING

RING - seal, lower

1шт.

11

162088A1

MOTOR

ASSEMBLY - swing drive, for components, see Figure 8-166 in catalog Bur 7-1180 or Figure 8-176 in catalog Bur 7-2390

1шт.

12

627-12025

BOLT,Hex, M12 x 1.75 x 25mm, Cl 10.9, Full Thd

- hex, full threads, 12 - 1.75 x 25 mm, class 10.9

4шт.

13

892-11012

LOCK WASHER,M12

WASHER, LOCK, M12

4шт.

14

151068A1

LID

COVER - access

1шт.

1

828-24090

BOLT,Hex, M24 x 3 x 90mm, Cl 10.9

- hex, 24 - 3.0 x 90 mm, class 10.9, PIN EAC0531007 and after

41шт.

2

150822A1

WASHER,25mm ID x 48mm OD x 6mm Thk

- flat, special, PIN EAC0531007 and after

79шт.

3

151070A1

GASKET

- access cover, PIN EAC0531007 and after

1шт.

4

828-24140

BOLT,Hex, M24 x 3 x 140mm, Cl 10.9

- hex, 24 - 3.0 x 140 mm, class 10.9, PIN EAC0531007 and after

38шт.

5

173441A1

BEARING

BEARING ASSEMBLY - turntable, component service information was not available at time of printing, Includes: Ref. 6 - 10, PIN EAC0531007 and after

1шт.

6

NSS

NOT SOLD SEPARAT

RING - seal, upper, PIN EAC0531007 and after

1шт.

7

NSS

NOT SOLD SEPARAT

PIN - special, stopper, PIN EAC0531007 and after

1шт.

8

NSS

NOT SOLD SEPARAT

BEARING - ball, turntable, PIN EAC0531007 and after

1шт.

9

NSS

NOT SOLD SEPARAT

SPACER - ball bearing, PIN EAC0531007 and after

1шт.

10

NSS

NOT SOLD SEPARAT

RING - seal, lower, PIN EAC0531007 and after

1шт.

11

162088A1

MOTOR

ASSEMBLY - swing drive, for components, see Figure 8-166 in catalog Bur 7-1180 or Figure 8-176 in catalog Bur 7-2300, PIN EAC0531007 and after

1шт.

12

627-12025

BOLT,Hex, M12 x 1.75 x 25mm, Cl 10.9, Full Thd

- hex, full threads, 12 - 1.75 x 25 mm, class 10.9, PIN EAC0531007 and after

4шт.

13

892-11012

LOCK WASHER,M12

WASHER, LOCK, , PIN EAC0531007 and after M12

4шт.

14

151068A1

LID

COVER - access, PIN EAC0531007 and after

1шт.

Выбрано товаров: 28