Запчасти Case 9060 (8-056) - 152877A1 AND 153090A1 REMOTE CONTROL VALVES (08) - HYDRAULICS

Схема запчастей Case 9060 - (8-056) - 152877A1 AND 153090A1 REMOTE CONTROL VALVES (08) - HYDRAULICS
FIT
1:1
100%

Артикул

Название

Примечание

Количество

152877A1

VALVE

- remote control, lever operated, counterweight removal, Includes: Ref. 1 - 22

1шт.

153090A1

VALVE

- remote control, foot operated, traction drive, Includes: Ref. 1 - 22

3шт.

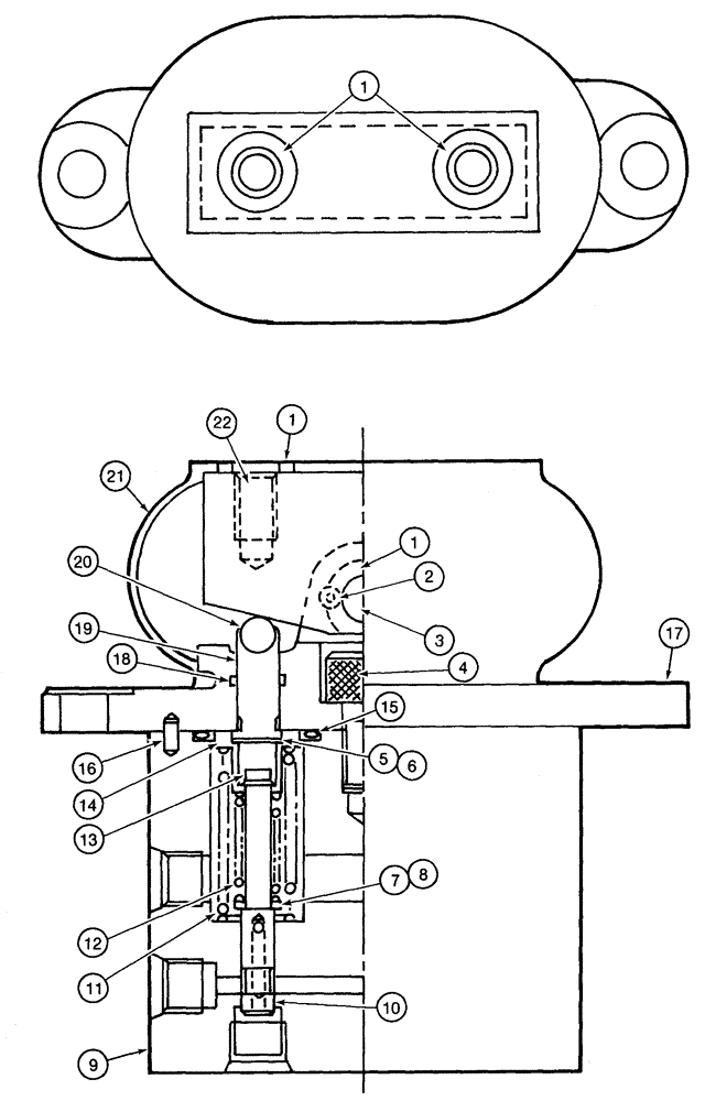
1

156177A1

WASHER

- special

4шт.

2

155567A1

PIN

- special

2шт.

3

155566A1

COTTER PIN

PIN - pivot

1шт.

4

861-12020

HEX SOC SCREW,M12 x 20mm, Cl 12.9

BOLT - hex socket, 12 - 1.75 x 20 mm, class 12.9

1шт.

5

155571A1

SHIM

KIT - shim

1шт.

6

155570A1

SHIM

KIT - shim

1шт.

7

156178A1

WASHER

- spring seat

2шт.

8

155569A1

SHIM

KIT - shim, spring load

1шт.

9

NSS

NOT SOLD SEPARAT

BODY - valve

1шт.

10

NSS

NOT SOLD SEPARAT

SPOOL - valve

2шт.

11

156047A1

SPRING

- outer, 152877A1 valve only

2шт.

11

156045A1

SPRING

- outer, 153090A1 valve only

2шт.

12

156046A1

SPRING

- inner

2шт.

13

156179A1

FLANGE BOLT

BOLT - special, flanged

2шт.

14

NSS

NOT SOLD SEPARAT

SLEEVE - valve

2шт.

15

154503A1

O-RING

- special, Serial Range: cover-body

2шт.

16

738-1306

LOCK PIN,M3 x 6, Slotted

PIN - roll, 3 x 6 mm

2шт.

17

156280A1

COVER

- valve

1шт.

18

154462A1

O-RING

-, Serial Range: shuttle-cover

2шт.

155754A1

VALVE

SHUTTLE - valve, Includes: Ref. 19 & 20

2шт.

19

NSS

NOT SOLD SEPARAT

SHUTTLE - valve

1шт.

20

NSS

NOT SOLD SEPARAT

BALL - steel

1шт.

21

155254A1

BELLOWS

COVER - dust

1шт.

22

155568A1

VALVE

PEDAL - valve

1шт.

Выбрано товаров: 26