Запчасти Case 9060 (8-100) - 152791A1 AIR CYLINDER (08) - HYDRAULICS

Схема запчастей Case 9060 - (8-100) - 152791A1 AIR CYLINDER (08) - HYDRAULICS
FIT
1:1
100%

Артикул

Название

Примечание

Количество

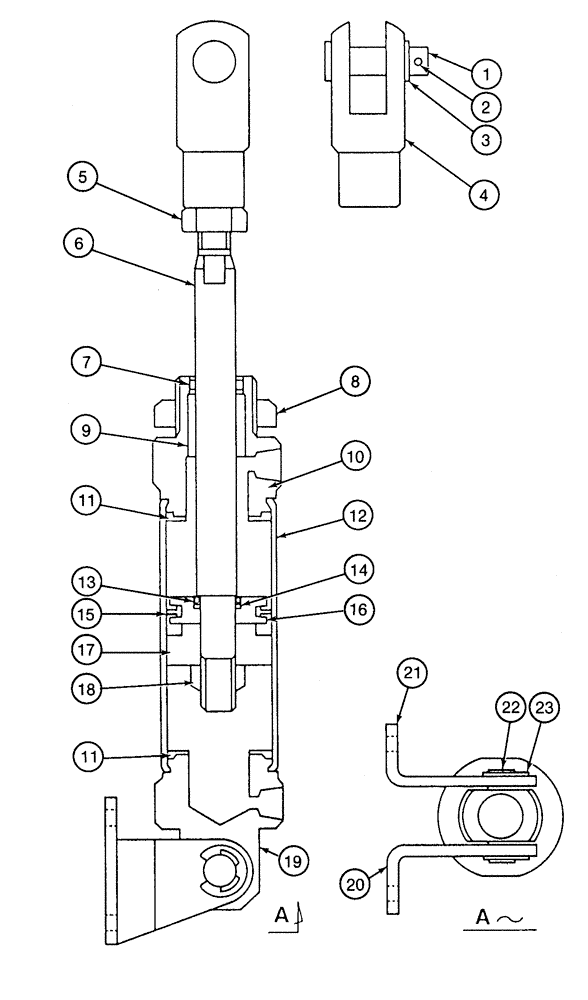
152791A1

CYLINDER

- air, counterweight removal, Includes: Ref. 1 - 23

2шт.

1

155740A1

PIN

- clevis, cylinder rod end

1шт.

2

155739A1

PIN

- cotter

1шт.

3

156236A1

WASHER

- flat, special

1шт.

4

156394A1

END

CLEVIS - rod end

1шт.

5

156237A1

NUT

- hex jam, clevis

1шт.

6

NSS

NOT SOLD SEPARAT

ROD - piston

1шт.

7

NSS

NOT SOLD SEPARAT

WIPER - rod

1шт.

8

156238A1

NUT

- hex, special, special

1шт.

9

NSS

NOT SOLD SEPARAT

BUSHING - rod

1шт.

10

NSS

NOT SOLD SEPARAT

COVER - tube, rod end

1шт.

11

NSS

NOT SOLD SEPARAT

SEAL - tube end

2шт.

12

NSS

NOT SOLD SEPARAT

TUBE - cylinder

1шт.

13

NSS

NOT SOLD SEPARAT

O-RING - seal, Serial Range: rod-piston

1шт.

14

NSS

NOT SOLD SEPARAT

RING - backup, seal, Serial Range: rod-piston

1шт.

15

NSS

NOT SOLD SEPARAT

PACKING - piston

1шт.

16

NSS

NOT SOLD SEPARAT

PISTON - split, air cylinder, grooved for seals

1шт.

17

NSS

NOT SOLD SEPARAT

PISTON - split, air cylinder, not grooved for seals

1шт.

18

NSS

NOT SOLD SEPARAT

NUT - hex, special, piston retaining

1шт.

19

NSS

NOT SOLD SEPARAT

COVER - tube, closed end

1шт.

20

156395A1

BRACKET

- air cylinder mounting, right-hand

1шт.

21

156396A1

BRACKET

- air cylinder mounting, left-hand

1шт.

22

155741A1

PIN

- clevis, closed end of cylinder

1шт.

23

155251A1

CIRCLIP

E-RING - retaining

2шт.

Выбрано товаров: 24