Запчасти Case 9060 (5-04) - TRACK CHAIN AND SHOES (11) - TRACKS/STEERING

Схема запчастей Case 9060 - (5-04) - TRACK CHAIN AND SHOES (11) - TRACKS/STEERING
FIT
1:1
100%

Артикул

Название

Примечание

Количество

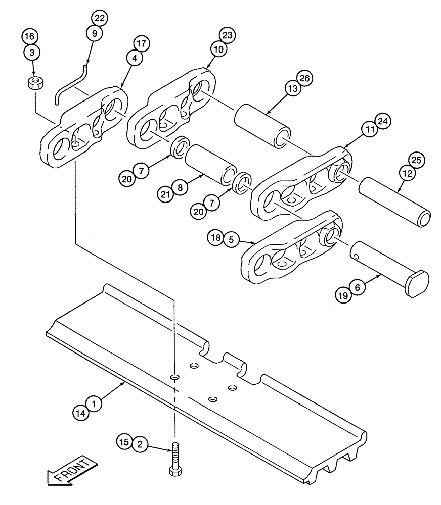
157479A1

TRACK CHAIN

CHAIN ASSEMBLY - track, 25 link, Includes: Ref. 1 - 13

2шт.

To replace a complete track, 51 links, on one side of this excavator, order one 25 link and one 26 link chain assembly above.

1шт.

1

157395A1

TRACK SHOE

SHOE - track, 36 inch (910 mm) wide, 25 link chain

25шт.

2

157396A1

BOLT

BOLT - special, track shoe mounting, 25 link chain

100шт.

3

157397A1

NUT

- special, shoe retaining, 25 link chain

100шт.

157565A1

TRACK CHAIN

CHAIN - track, 25 link chain, Includes: Ref. 4 - 13

1шт.

4

157405A1

LINK

- master, track, right-hand, 25 link chain

1шт.

5

157406A1

LINK

- master, track, left-hand, 25 link chain

1шт.

6

157404A1

HEADED PIN

PIN - master link, with head and pin hole, 25 link chain

1шт.

7

157407A1

COLLAR CLAMP

SPACER - bushing, master pin, 25 link chain

2шт.

8

157403A1

SPACER

BUSHING - master pin, 25 link chain

1шт.

9

151064A1

LINCH PIN

PIN - lock, master track pin, 25 link chain

1шт.

10

157399A1

CHAIN (CE)

LINK - track, standard, right-hand, 25 link chain

24шт.

11

157400A1

CHAIN (CE)

LINK - track, standard, left-hand, 25 link chain

24шт.

12

157402A1

PIN

- track, standard, 25 link chain

24шт.

13

157401A1

SPACER

BUSHING - track, standard, 25 link chain

24шт.

158383A1

TRACK CHAIN

CHAIN ASSEMBLY - track, Includes: Ref. 14 - 26

2шт.

To replace a complete track, 51 links, on one side of this excavator, order one 25 link and one 26 link chain assembly above.

1шт.

14

157395A1

TRACK SHOE

SHOE - track, 36 inch (910 mm) wide, 26 link chain

26шт.

15

157396A1

BOLT

BOLT - special, track shoe mounting, 26 link chain

104шт.

16

157397A1

NUT

- special, shoe retaining, 26 link chain

104шт.

158656A1

TRACK CHAIN

CHAIN ASSEMBLY - track, 26 link chain, Includes: Ref. 17 - 26

1шт.

17

157405A1

LINK

- master, track, right-hand, 26 link chain

1шт.

18

157406A1

LINK

- master, track, left-hand, 26 link chain

1шт.

19

157404A1

HEADED PIN

PIN - master link, with head and pin hole, 26 link chain

1шт.

20

157407A1

COLLAR CLAMP

SPACER - bushing, master pin, 26 link chain

2шт.

21

157403A1

SPACER

BUSHING - master pin, 26 link chain

1шт.

22

151064A1

LINCH PIN

PIN - lock, master track pin, 26 link chain

1шт.

23

157399A1

CHAIN (CE)

LINK - track, standard, right-hand, 26 link chain

25шт.

24

157400A1

CHAIN (CE)

LINK - track, standard, left-hand, 26 link chain

25шт.

25

157402A1

PIN

- track, standard, 26 link chain

25шт.

26

157401A1

SPACER

BUSHING - track, standard, 26 link chain

25шт.

Выбрано товаров: 32