Запчасти Case 9060B (2-02) - ENGINE MOUNTS AND ADAPTING PARTS (02) - ENGINE

Схема запчастей Case 9060B - (2-02) - ENGINE MOUNTS AND ADAPTING PARTS (02) - ENGINE
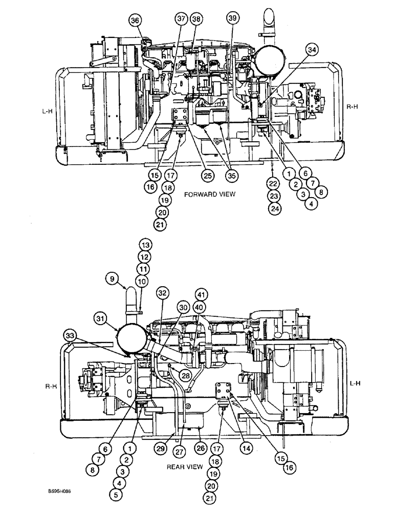
17
14
5
38
20
8
34
13
40
3
3
10
33
15
29
22
6
25
26
41
24
36
18
19
35
6
39
17
30
7
2
2
32
20
8
16
11
7
37
15
4
9
28
1
4
21
19
16
31
23
21
12
27
1
18
FIT
1:1
100%

Артикул

Название

Примечание

Количество

163492A1

ENGINE ASSEMBLY

- excavator

1шт.

1

827-20150

BOLT,Hex, M20 x 2.5 x 150mm, Cl 10.9

- hex, 20 - 2.5 x 150 mm, class 10.9, RH front and rear engine mounts

2шт.

2

150817A1

WASHER,21mm ID x 40mm OD x 4.5mm Thk

- flat, special, engine mounts

4шт.

3

150877A1

RUBBER WASHER

INSULATOR - rubber, right-hand front and rear engine mounts

4шт.

4

150874A1

WASHER

- special, right-hand front and rear engine mounts

2шт.

5

829-1420

NUT,M20, Cl 10

4шт.

6

170265A1

SUPPORT

BRACKET - engine mounting, right-hand front and rear

2шт.

7

627-12040

BOLT,Hex, M12 x 1.75 x 40mm, Cl 10.9, Full Thd

RH Front and Rear Engine Mounts Hex, M12 x 40, 10.9, Full Thd

8шт.

8

150811A1

WASHER

- flat, special, 12 mm, right-hand front and rear engine mounts

8шт.

9

170266A1

PIPE

- exhaust

1шт.

10

163405A1

CLAMP

- special, exhaust pipe

1шт.

11

627-12040

BOLT,Hex, M12 x 1.75 x 40mm, Cl 10.9, Full Thd

Clamp Hex, M12 x 40, 10.9, Full Thd

1шт.

12

892-11012

LOCK WASHER,M12

WASHER, LOCK, M12

1шт.

13

829-1412

NUT,M12, Cl 10.9

- hex, 12 mm - 1.75, class 10

1шт.

14

151204A1

ENGINE MOUNT

BRACKET - engine mounting, left-hand front

1шт.

15

627-14035

BOLT,Hex, M14 x 2 x 35mm, Cl 10.9, Full Thd

- hex, full threads, 14 - 2.0 x 35 mm, class 10.9, LH front and rear engine mounts

4шт.

16

150418A1

WASHER

- flat, special

4шт.

17

827-20130

BOLT,Hex, M20 x 2.5 x 130mm, Cl 10.9

- hex, 20 - 2.5 x 130 mm, class 10.9, LH front and rear engine mounts

2шт.

18

150817A1

WASHER,21mm ID x 40mm OD x 4.5mm Thk

- flat, special, left-hand front and rear engine mounts

4шт.

19

150879A1

RUBBER WASHER

INSULATOR - rubber, left-hand front and rear engine mounts

4шт.

20

150874A1

WASHER

- special, left-hand front and rear engine mounts

2шт.

21

829-1420

NUT,M20, Cl 10

4шт.

22

157480A1

TUBE

- special, muffler drain

1шт.

23

170299A1

CLAMP

- adjustable, wire-type, muffler drain tube

1шт.

24

151252A1

NIPPLE, LUBE

ADAPTER - straight, muffler

1шт.

25

162511A1

SUPPORT

BRACKET - engine mounting, left-hand rear

1шт.

26

REF

INSTRUCTION

ENGINE - excavator 6D22-TC, parts list Figures 2-12 - 2-42; 2-46 - 2-60 & 3-10 - 3-16

1шт.

27

158429A1

HOSE

- 650 mm (25-5/8 inch) long, engine block water drain

1шт.

28

158430A1

CLAMP

- special

1шт.

29

170442A1

HOSE

- 1000 mm (39-3/8 inch) long, Engine breather

1шт.

30

151318A1

CLAMP

- special, breather hose

1шт.

31

170443A1

MUFFLER

- engine

1шт.

32

163398A1

EXHAUST SYSTEM PIPE

PIPE - exhaust, Serial Range: turbo-muffler

1шт.

33

163403A1

U-BOLT

BOLT - U-type

2шт.

34

240067A1

SENSOR

- speed, engine

1шт.

35

151197A1

FILTER ASSY

KIT - bypass and full flow filter elements, parts list Figure 2-24

1шт.

36

153052A1

IGNITION SWITCH

SWITCH - thermostat

1шт.

37

150603A1

PRESSURE SWITCH

SWITCH - pressure

1шт.

38

151193A1

FILTER, ELEMENT

KIT - fuel filter element, parts list Figure 3-16

1шт.

39

240383A1

SOLENOID

- engine stop, 24 volt

1шт.

40

163401A1

SEALING RING

SEAL - ring-type, exhaust pipe

1шт.

41

163402A1

CLAMP

- special, exhaust pipe at turbo

1шт.

Выбрано товаров: 42