Запчасти Case 9060B (8-132) - PILOT CONTROL SOLENOID VALVE (08) - HYDRAULICS

Схема запчастей Case 9060B - (8-132) - PILOT CONTROL SOLENOID VALVE (08) - HYDRAULICS
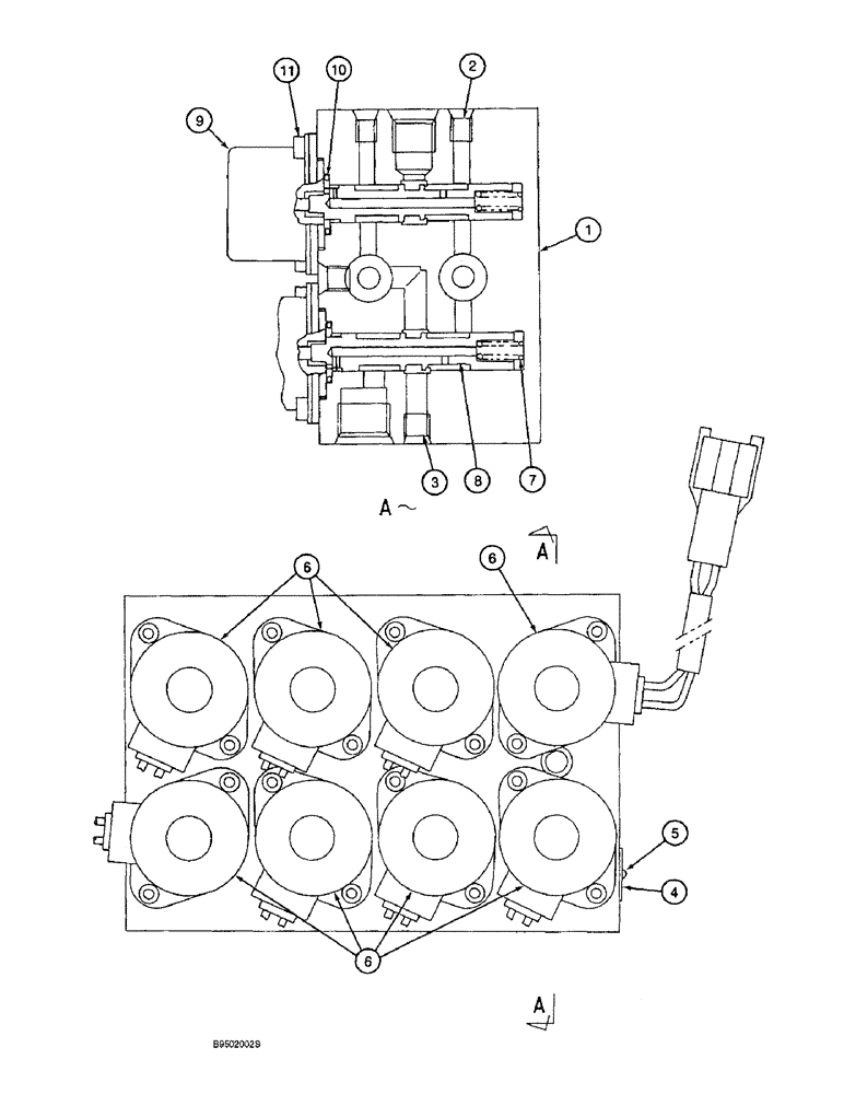
7
6
1
10
4
2
5
3
9
8
11
6
6
FIT
1:1
100%

Артикул

Название

Примечание

Количество

161310A1

VALVE

ASSEMBLY - solenoid, pilot control, Includes: Ref. 1 - 11

1шт.

1

NSS

NOT SOLD SEPARAT

HOUSING - valve

1шт.

2

NSS

NOT SOLD SEPARAT

PLUG - port

4шт.

3

NSS

NOT SOLD SEPARAT

PLUG - port

1шт.

4

NSS

NOT SOLD SEPARAT

NAMEPLATE - solenoid valve

1шт.

5

NSS

NOT SOLD SEPARAT

SCREW - drive

2шт.

6

165145A1

SOLENOID VALVE

SOLENOID - valve, replaces 163894A1 solenoid

8шт.

7

NSS

NOT SOLD SEPARAT

SPRING - valve; If needed complete valve needs to be ordered

1шт.

8

NSS

NOT SOLD SEPARAT

SPOOL - valve; If needed complete valve needs to be ordered

1шт.

9

NSS

NOT SOLD SEPARAT

SOLENOID - valve

1шт.

10

154498A1

O-RING

- valve assembly

1шт.

11

862-4010

HEX SOC SCREW,M4 x 10mm, Cl 12.9

SCREW - hex socket, 4 - 0.7 x 10 mm, class 12.9

16шт.

Выбрано товаров: 12