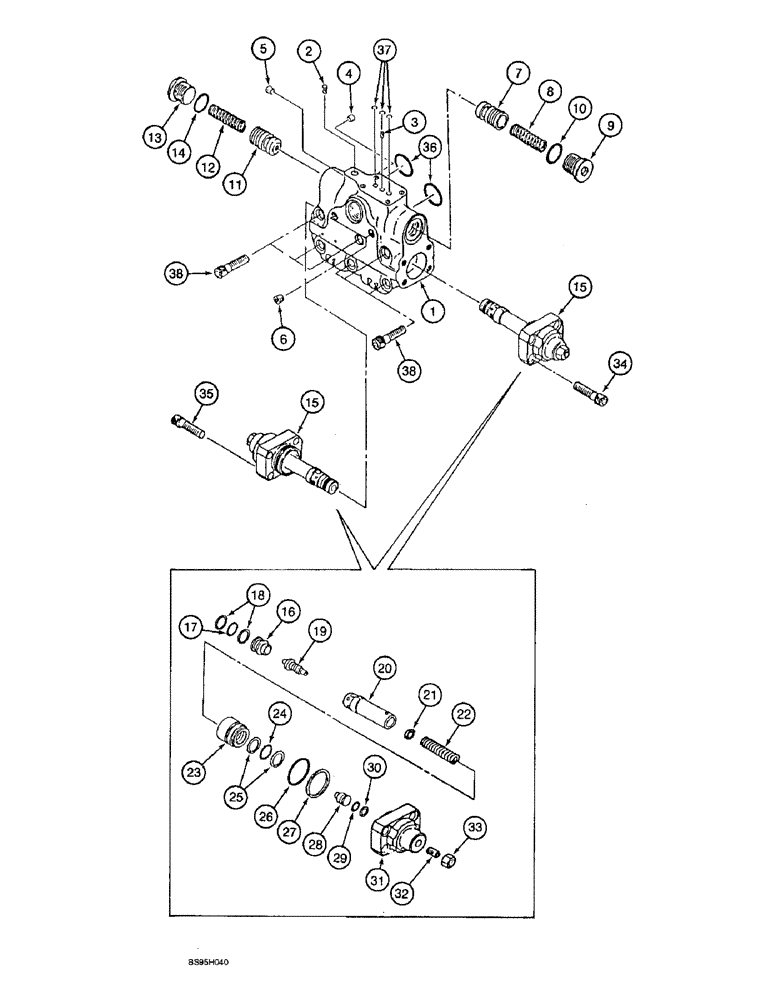
Запчасти Case 9060B (8-154) - SWING MOTOR ASSEMBLY, MOTOR CONTROL VALVE ASSEMBLY (08) - HYDRAULICS

Схема запчастей Case 9060B - (8-154) - SWING MOTOR ASSEMBLY, MOTOR CONTROL VALVE ASSEMBLY (08) - HYDRAULICS
26
16
18
1
15
7
8
14
38
22
9
34
35
28
24
31
10
27
33
30
4
11
32
17
29
13
12
37
21
38
2
6
15
3
19
36
25
23
20
5
FIT
1:1
100%

Артикул

Название

Примечание

Количество

163978A1

VALVE

ASSEMBLY - motor control, Includes: Ref. 1 - 37

1шт.

164085A1

BODY

HOUSING ASSEMBLY - motor control valve, Includes: Ref. 1 & 2

1шт.

1

NSS

NOT SOLD SEPARAT

HOUSING - motor control valve

1шт.

2

164016A1

PLUG

- port

1шт.

Part of swing motor seal kit P/N 164049A1

1шт.

Part of motor control valve seal kit P/N 164051A1

1шт.

3

164015A1

ORIFICE

PLUG - orifice

1шт.

4

151022A1

PLUG

- hex socket, special

1шт.

5

151022A1

PLUG

- hex socket, special

1шт.

6

150821A1

PLUG

- port

2шт.

7

155962A1

VALVE

- check

1шт.

8

156112A1

SPRING

- check valve

1шт.

9

155507A1

PLUG

- check valve retaining

1шт.

10

155223A1

O-RING

- plug

1шт.

Part of swing motor seal kit P/N 164049A1

1шт.

Part of motor control valve seal kit P/N 164051A1

1шт.

11

155962A1

VALVE

- check

1шт.

12

156112A1

SPRING

- check valve

1шт.

13

155507A1

PLUG

- check valve retaining

1шт.

14

155223A1

O-RING

- plug

1шт.

Part of swing motor seal kit P/N 164049A1

1шт.

Part of motor control valve seal kit P/N 164051A1

1шт.

15

163979A1

VALVE

ASSEMBLY - relief, Includes: Ref. 16 - 33

2шт.

16

NSS

NOT SOLD SEPARAT

SEAT - valve plunger

1шт.

17

154487A1

O-RING

- seat

1шт.

Part of swing motor seal kit P/N 164049A1

1шт.

Part of motor control valve seal kit P/N 164051A1

1шт.

18

153970A1

BACK-UP RING

RING - backup

2шт.

Part of swing motor seal kit P/N 164049A1

1шт.

Part of motor control valve seal kit P/N 164051A1

1шт.

19

NSS

NOT SOLD SEPARAT

PLUNGER - valve

1шт.

20

NSS

NOT SOLD SEPARAT

SLEEVE - valve

1шт.

21

164011A1

SEAT

- spring

1шт.

22

164068A1

SPRING

- compression

1шт.

23

NSS

NOT SOLD SEPARAT

PISTON - valve

1шт.

24

154499A1

O-RING

- piston

1шт.

Part of swing motor seal kit P/N 164049A1

1шт.

Part of motor control valve seal kit P/N 164051A1

1шт.

25

153979A1

BACK-UP RING

RING - backup

2шт.

Part of swing motor seal kit P/N 164049A1

1шт.

Part of motor control valve seal kit P/N 164051A1

1шт.

26

154563A1

O-RING

- piston

1шт.

Part of swing motor seal kit P/N 164049A1

1шт.

Part of motor control valve seal kit P/N 164051A1

1шт.

27

154027A1

BACK-UP RING

RING - backup

1шт.

Part of swing motor seal kit P/N 164049A1

1шт.

Part of motor control valve seal kit P/N 164051A1

1шт.

28

164012A1

GUIDE

SEAT - spring

1шт.

29

154471A1

O-RING

- spring seat

1шт.

Part of swing motor seal kit P/N 164049A1

1шт.

Part of motor control valve seal kit P/N 164051A1

1шт.

30

153958A1

BACK-UP RING

RING - backup

1шт.

Part of swing motor seal kit P/N 164049A1

1шт.

Part of motor control valve seal kit P/N 164051A1

1шт.

31

NSS

NOT SOLD SEPARAT

CAP - valve

1шт.

32

877-11216

SET SCREW,Hex Skt, M12 x 16mm, Cup Pt

hex socket, 12 - 1.75 x 16 mm, cup point

1шт.

33

829-1312

NUT,M12 x 1.75, Cl 10

- hex, 12 mm - 1.75, class 10, Locking

1шт.

34

863-12035

HEX SOC SCREW,M12 x 35mm, Cl 12.9

BOLT - hex socket, 12 - 1.75 x 35 mm, class 12.9

4шт.

35

863-12035

HEX SOC SCREW,M12 x 35mm, Cl 12.9

BOLT - hex socket, 12 - 1.75 x 35 mm, class 12.9

4шт.

36

154543A1

O-RING

- Passage

2шт.

Part of swing motor seal kit P/N 164049A1

1шт.

Part of motor control valve seal kit P/N 164051A1

1шт.

37

154463A1

O-RING

- passage

3шт.

Part of swing motor seal kit P/N 164049A1

1шт.

Part of motor control valve seal kit P/N 164051A1

1шт.

38

861-12095

HEX SOC SCREW,M12 x 95mm, Cl 12.9

SCREW - hex socket, 12 - 1.75 x 95 mm, class 12.9

6шт.

164049A1

SET OF PARTS

KIT - swing motor seal, Includes: Refs. 2, 10, 14, 17, 18, 24 - 27, 29, 30, 36 and 37, as well as references marked in Figures 8-152 and 8-156

1шт.

164051A1

SET OF PARTS

KIT - motor control valve seal, Includes: Refs. 2, 10, 14, 17, 18, 24 - 27, 29, 30, 36 and 37

1шт.

Выбрано товаров: 68