Запчасти Case 9060B (8-188) - LOAD HOLDING OPTION, ARM CYLINDER WITH HOLDING VALVE (08) - HYDRAULICS

Схема запчастей Case 9060B - (8-188) - LOAD HOLDING OPTION, ARM CYLINDER WITH HOLDING VALVE (08) - HYDRAULICS
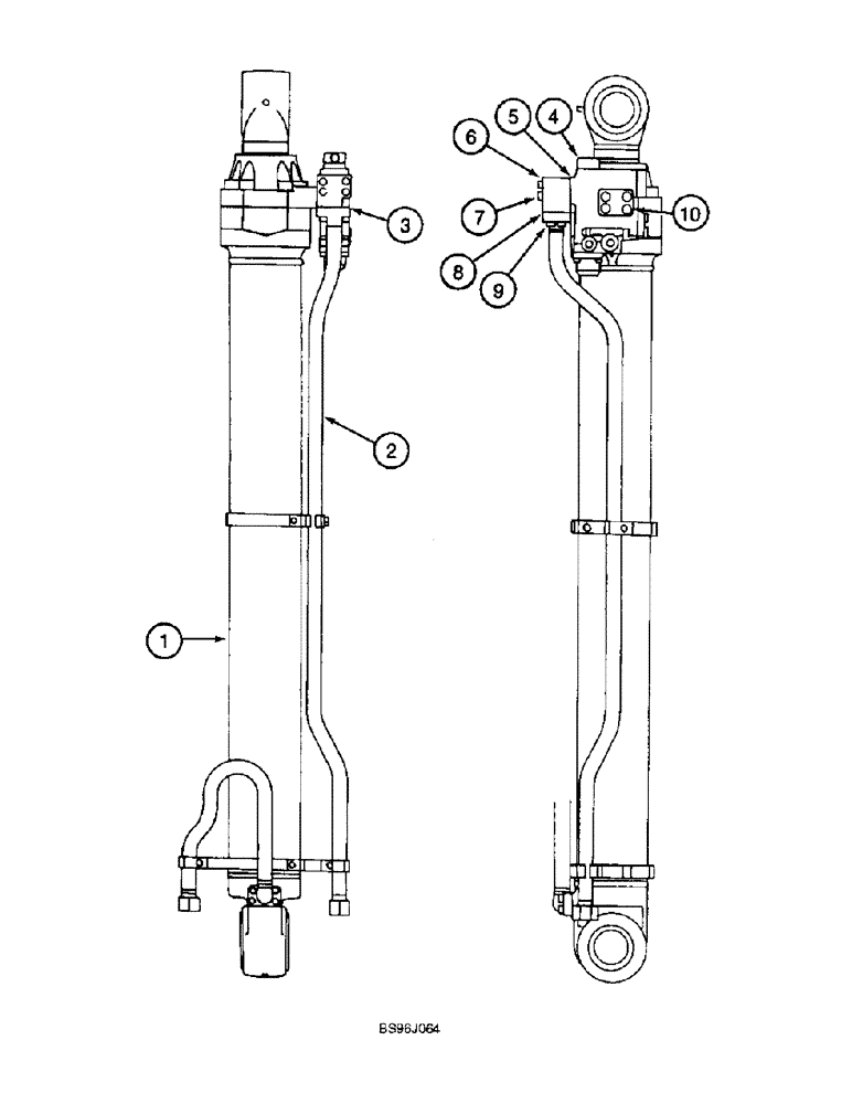
6
2
5
7
9
10
3
8
4
1
FIT
1:1
100%

Артикул

Название

Примечание

Количество

1

164971A1

CYLINDER ASSY.

CYLINDER - 180 (7-3/32) ID x 1910 mm (75-3/16 inch) stroke, parts list Figure 8-142

1шт.

2

164960A1

HYD TUBE

TUBE - hydraulic, arm cylinder, rod end

1шт.

3

154589A1

O-RING

- seal

1шт.

4

164126A1

SAFETY VALVE

VALVE ASSEMBLY - holding, arm cylinder, parts list Figure 8-190

1шт.

5

154589A1

O-RING

- seal

1шт.

6

162031A1

MANIFOLD

- hydraulic

1шт.

7

162030A1

BOLT,Hex Skt Hd

BOLT - hex socket head

4шт.

8

154589A1

O-RING

- seal

1шт.

9

862-14040

HEX SOC SCREW,M14 x 40mm, Cl 12.9

SCREW - hex socket, 14 - 2.0 x 40 mm, class 12.9

4шт.

10

162030A1

BOLT,Hex Skt Hd

BOLT - hex socket head

4шт.

Выбрано товаров: 10