Запчасти Case 9060B (9-006) - TURNTABLE AND WALKWAYS (09) - CHASSIS

Схема запчастей Case 9060B - (9-006) - TURNTABLE AND WALKWAYS (09) - CHASSIS
6
6
7
5
11
16
12
15
14
6
12
13
6
14
6
6
12
12
10
1
6
3
13
13
13
6
14
13
14
12
8
14
12
5
9
14
2
13
FIT
1:1
100%

Артикул

Название

Примечание

Количество

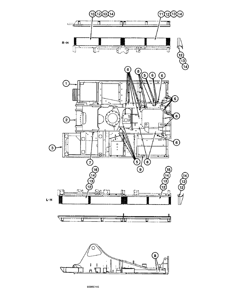
TURNTABLE ASSEMBLY - excavator, Includes: Ref. 1 - 3

1шт.

Turntable assembly part number to be provided at a later date.

1шт.

1

NSS

NOT SOLD SEPARAT

PLATFORM - turntable, right-hand

1шт.

2

NSS

NOT SOLD SEPARAT

FRAME - boom mounting, center

1шт.

3

NSS

NOT SOLD SEPARAT

PLATFORM - turntable, left-hand

1шт.

5

829-1308

NUT,M8, Cl 10

- hex, 8 mm - 1.25, Cl 10 (Weld on)

6шт.

6

158918A1

SPECIAL NUT

- special (weld on)

39шт.

7

829-1306

NUT,M6, Cl 10

- hex, 6 mm - 1.0, class 10 (Weld on)

1шт.

8

829-1312

NUT,M12 x 1.75, Cl 10

- hex, 12 mm - 1.75, class 10 (Weld on)

8шт.

9

829-1310

NUT,M10, Cl 10

- hex, 10 mm - 1.5, class 10 (Weld on)

1шт.

10

170130A1

GRATING

WALKWAY - turntable, front, right-hand

1шт.

11

170129A1

GRATING

WALKWAY - turntable, rear, right-hand

1шт.

12

627-12030

BOLT,Hex, M12 x 1.75 x 30mm, Cl 10.9, Full Thd

- hex, full threads, 12 - 1.75 x 30 mm, class 10.9

26шт.

13

150900A1

WASHER

- flat, 12 mm

26шт.

14

892-11012

LOCK WASHER,M12

WASHER, LOCK, M12

26шт.

15

170129A1

GRATING

WALKWAY - turntable, rear, left-hand

1шт.

16

170131A1

GRATING

WALKWAY - turntable, front, left-hand

1шт.

Выбрано товаров: 17