Запчасти Case 9060B (9-018) - UPPER STRUCTURE - CONTINUED (09) - CHASSIS

Схема запчастей Case 9060B - (9-018) - UPPER STRUCTURE - CONTINUED (09) - CHASSIS
83
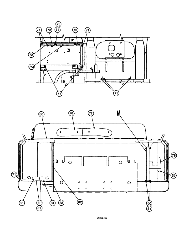
71
84
71
76
78
75a
79
71
75
77
71
72
85
86
71
73
74
82
80
73
81
81
80
FIT
1:1
100%

Артикул

Название

Примечание

Количество

71

152718A1

BOLT,Spcl, Hex Wshr, M12 x 25mm, Cl 10.9

- special

70шт.

72

162380A1

SEAL

- cushion

4шт.

73

162368A1

SEAL

- cushion

1шт.

74

627-12025

BOLT,Hex, M12 x 1.75 x 25mm, Cl 10.9, Full Thd

- hex, full threads, 12 - 1.75 x 25 mm, class 10.9

3шт.

75

151161A1

WASHER

- special

3шт.

75a

163431A1

SEAL

- cushion

1шт.

76

170490A1

NOISE PROTECTION

INSULATION - foam rubber

1шт.

77

164245A1

NOISE PROTECTION

INSULATION - foam rubber, replaces 170491A1 insulation

1шт.

78

163334A1

NOISE PROTECTION

INSULATION - acoustic, if used

1шт.

79

163337A1

NOISE PROTECTION

INSULATION - acoustic, if used

1шт.

80

152718A1

BOLT,Spcl, Hex Wshr, M12 x 25mm, Cl 10.9

- special

4шт.

81

162381A1

SHIM

- plate

2шт.

82

170650A1

NOISE PROTECTION

INSULATION - acoustic, replaces 170417A1 insulation

1шт.

83

170411A1

SEAL

STRIP - weather, rubber

1шт.

84

170413A1

SEAL

STRIP - weather, rubber

1шт.

85

170414A1

SEAL

STRIP - weather, rubber

1шт.

86

170493A1

SEALING STRIP

STRIP - weather, rubber

1шт.

Выбрано товаров: 17